ACV AVS-912BW - инструкции и руководства
Магнитола ACV AVS-912BW - инструкции пользователя по применению, эксплуатации и установке на русском языке читайте онлайн в формате pdf
Инструкции:
Инструкция по эксплуатации ACV AVS-912BW
1
2
3
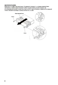
4
5
6
7
8
9
10
11
12
13
14
15
16
17
18
19
20
ACV Магнитолы Инструкции
-
ACV AD-7180
Инструкция по эксплуатации
-
ACV AD-7220
Инструкция по эксплуатации
-
ACV AD-9001
Инструкция по эксплуатации
-
ACV AD-9002
Инструкция по эксплуатации
-
ACV ADX-710
Инструкция по эксплуатации
-
ACV AVS-1410M
Инструкция по эксплуатации
-
ACV AVS-1411B
Инструкция по эксплуатации
-
ACV AVS-1412G
Инструкция по эксплуатации
-
ACV AVS-1413R
Инструкция по эксплуатации
-
ACV AVS-1415M
Инструкция по эксплуатации
-
ACV AVS-811G
Инструкция по эксплуатации
-
ACV AVS-816BG
Инструкция по эксплуатации
-
ACV AVS-928BG
Инструкция по эксплуатации
-
ACV AVS-928BG/BR/BW/BM
Инструкция по эксплуатации
-
ACV AVS-928BM
Инструкция по эксплуатации
-
ACV AVS-928BR
Инструкция по эксплуатации
-
ACV AVS-928BW
Инструкция по эксплуатации
-
ACV AVS-944BM
Инструкция по эксплуатации
-
ACV AVS-950BR
Инструкция по эксплуатации
-
ACV AVS-7131
Инструкция по эксплуатации