Блоки питания be quiet! POWER 13 - инструкция пользователя по применению, эксплуатации и установке на русском языке. Мы надеемся, она поможет вам решить возникшие у вас вопросы при эксплуатации техники.
Если остались вопросы, задайте их в комментариях после инструкции.
"Загружаем инструкцию", означает, что нужно подождать пока файл загрузится и можно будет его читать онлайн. Некоторые инструкции очень большие и время их появления зависит от вашей скорости интернета.

SATA
SATA
SATA
SATA
SATA
SATA
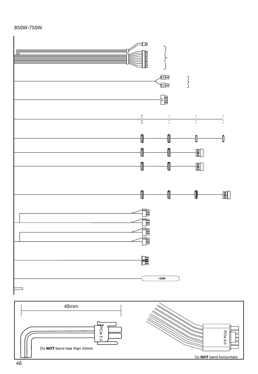
OCK = Overclocking jumper
OCK = Overclocking key
SATA
SATA
HDD
12V P8
12V P4
12V P4
PCIe 1 (6+2-pin)
PCIe 2 (6+2-pin)
PCIe 3 (6+2-pin)
PCIe 4 (6+2-pin)
PCIe 5.0 (12VHPWR)
12V P8
700mm
700mm
600mm
600mm
150mm
150mm
150mm
HDD
600mm
600mm
600mm
600mm
SATA
SATA
SATA
SATA
20-pin
4-pin
24-pin
Характеристики
Остались вопросы?Не нашли свой ответ в руководстве или возникли другие проблемы? Задайте свой вопрос в форме ниже с подробным описанием вашей ситуации, чтобы другие люди и специалисты смогли дать на него ответ. Если вы знаете как решить проблему другого человека, пожалуйста, подскажите ему :)