Бензопилы Husqvarna 353 9651697-35 - инструкция пользователя по применению, эксплуатации и установке на русском языке. Мы надеемся, она поможет вам решить возникшие у вас вопросы при эксплуатации техники.
Если остались вопросы, задайте их в комментариях после инструкции.
"Загружаем инструкцию", означает, что нужно подождать пока файл загрузится и можно будет его читать онлайн. Некоторые инструкции очень большие и время их появления зависит от вашей скорости интернета.

™ˆ… ÷…„ˆ‘ˆŸ …‡‘‘’ˆ
12 – Russian
÷åæóùåå îáîðóäîâàíèå ñ ïîíèæåííîé
îòäà÷åé
…äèíñòâåííàß âîçìîæíîñòü èçáåæàòü îòäà÷è,
ýòî ïîñòîßííûé êîíòðîëü çà òåì ÷òîáû çîíà
îòäà÷è ïèëüíîãî ïîëîòíà íè ñ ÷åì íå
ñîïðèêàñàëàñü.
‚û ìîæåòå ñíèçèòü ðèñê îòäà÷è, èñïîëüçóß
ïèëüíûé àïïàðàò, èìåþùèé êîíñòðóêòèâíûå
ýëåìåíòû, ïîíèæàþùèå âåðîßòíîñòü îòäà÷è,
ïðàâèëüíî çàòà÷èâàß öåïü è âûïîëíßß
íàäëåæàùèé óõîä.
èëüíîå ïîëîòíî
—åì ìåíüøå ðàäèóñ íîñîâîé çâåçäî÷êè, òåì
ìåíüøå áóäåò âåðîßòíîñòü îòäà÷è.
èëüíàß öåïü
–åïü ïèëû ñîáðàíà èç íàáîðà çâåíüåâ, êîòîðûå
ìîãóò áûòü âûïîëíåíû â ñòàíäàðòíîì è â
ñíèæàþùåì âåðîßòíîñòü îòäà÷è âàðèàíòå.
åêîòîðûå òåðìèíû è ïîíßòèß èñïîëüçóåìûå
ïðè îïèñàíèè ïèëüíîãî ïîëîòíà è ïèëüíîé öåïè
„ëß ñîõðàíåíèß ôóíêöèé âñåõ äåòàëåé ñèñòåìû
çàùèòû íà ðåæóùåì îáîðóäîâàíèè, ‚àì ñëåäóåò
ïðîèçâîäèòü çàìåíó èçíîøåííûõ è
ïîâðåæäåííûõ ïèëüíûõ øèí è öåïè íà
ðåêîìåíäóåìûå ôèðìîé Husqvarna. ‘ì. óêàçàíèß
â ðàçäåëå ’åõíè÷åñêèå äàííûå äëß ïîëó÷åíèß
èíôîðìàöèè î ðåêîìåíäóåìûõ íàìè ïèëüíûõ
øèíàõ è öåïßõ.
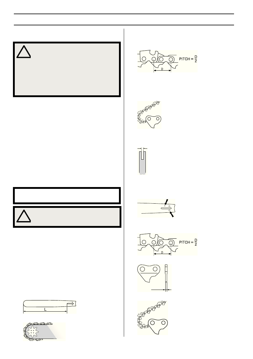
èëüíîå ïîëîòíî
•
„ëèíà (äþéì/ñì)
•
Šîëè÷åñòâî çóáüåâ íà íîñîâîé çâåçäî÷êå (T).
•
˜àã ïèëüíîé öåïè (äþéìû). Šîíå÷íàß
çâåçäî÷êà è âåäóùàß çâåçäî÷êè öåïè
äîëæíû ñîîòâåòñòâîâàòü ðàññòîßíèþ ìåæäó
çâåíüßìè öåïè.
•
Šîë-âî ïðèâîäíûõ çâåíüåâ (øò.) —èñëî
ïðèâîäíûõ çâåíüåâ îïðåäåëßåòñß äëèíîé
ïèëüíîãî ïîëîòíà, øàãîì öåïè è
êîëè÷åñòâîì çóáüåâ íà íîñîâîé çâåçäî÷êå
ïîëîòíà.
•
˜èðèíà ïàçà ïèëüíîãî ïîëîòíà (äþéì/ìì).
àç ïîëîòíà äîëæåí ñîâïàäàòü ñ øèðèíîé
ïðèâîäíûõ çâåíüåâ öåïè.
•
òâåðñòèå äëß ñìàçêè öåïè è îòâåðñòèå äëß
øåéêè íàòßæèòåëß öåïè. èëüíîå ïîëîòíî
äîëæíî ñîîòâåòñòâîâàòü êîíñòðóêöèè
ìîòîðíîé ïèëû.
èëüíàß öåïü
•
˜àã ïèëüíîé öåïè (äþéìû)
•
˜èðèíà âåäóùåãî çâåíà (ìì/äþéìîâ)
•
Šîëè÷åñòâî âåäóùèõ çâåíüåâ (øò.)
!
÷…„“÷…†„…ˆ…! åïðàâèëüíîå
ðåæóùåå îáîðóäîâàíèå èëè
íåïðàâèëüíîå ñî÷åòàíèå ïèëüíîé
øèíû/öåïè óâåëè÷èâàåò ðèñê
îòäà÷è! îëüçóéòåñü òîëüêî
ñî÷åòàíèåì ïèëüíîé øèíû/öåïè,
êîòîðîå ìû ðåêîìåíäóåì, è
âûïîëíßéòå óêàçàíèß èíñòðóêöèè.
‘ì. óêàçàíèß ïîä çàãîëîâêîì
’åõíè÷åñêèå äàííûå.
‚†! èêàêèå ïèëüíûå öåïè íå èñêëþ÷àþò
ïîëíîñòüþ ðèñê îòäà÷è.
!
÷…„“÷…†„…ˆ…! ‹þáîé êîíòàêò ñ
âðàùàþùåéñß öåïüþ ìîæåò ïðèâåñòè
ê î÷åíü ñåðüåçíûì òðàâìàì.













