Бензопилы Hitachi CS 40 EL - инструкция пользователя по применению, эксплуатации и установке на русском языке. Мы надеемся, она поможет вам решить возникшие у вас вопросы при эксплуатации техники.
Если остались вопросы, задайте их в комментариях после инструкции.
"Загружаем инструкцию", означает, что нужно подождать пока файл загрузится и можно будет его читать онлайн. Некоторые инструкции очень большие и время их появления зависит от вашей скорости интернета.

²ÍÉØÍÉÍ»ÅÉÀ
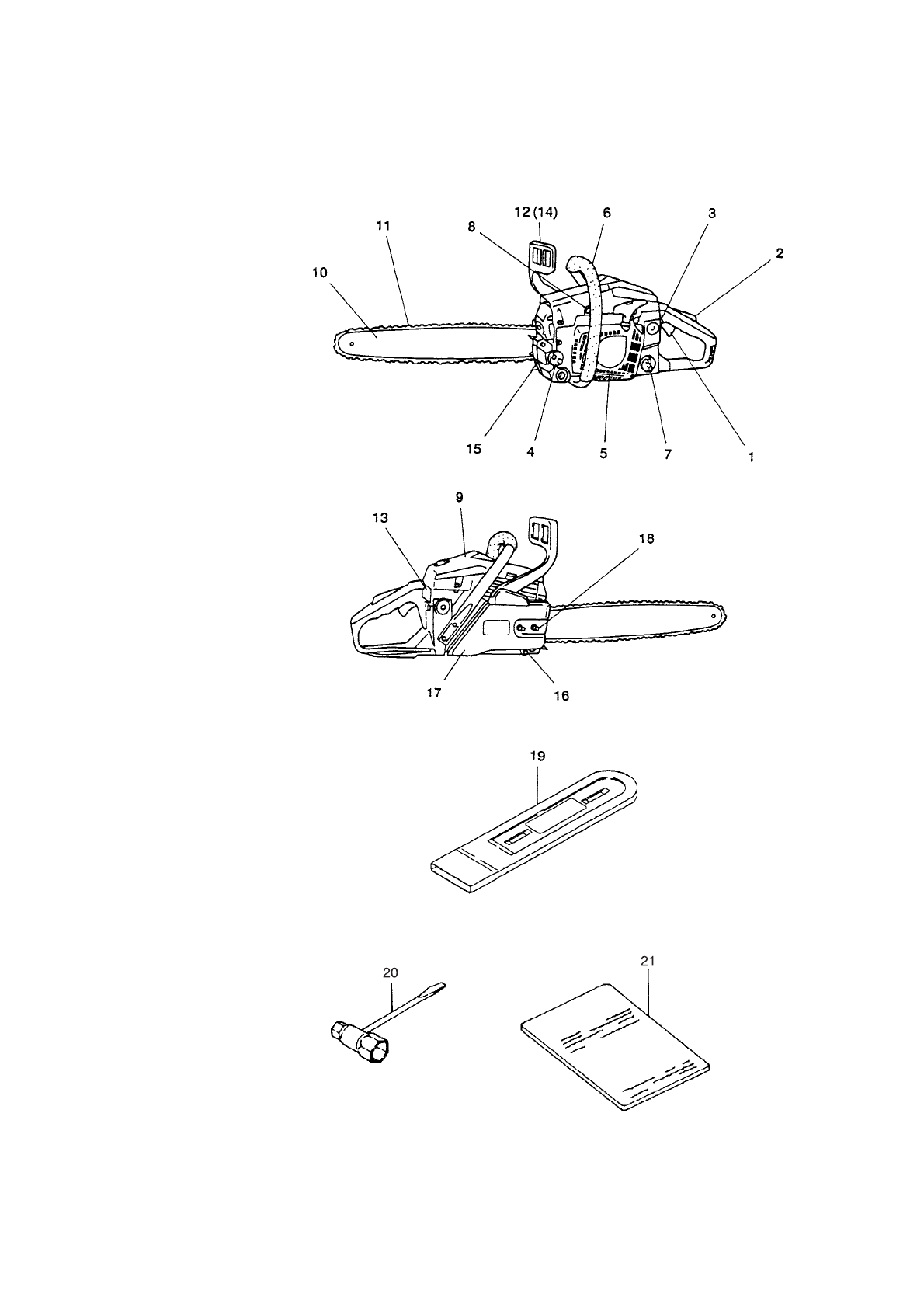
ªÉÌÅÉÆ×ÅνØÍÉÇËÎÅɽɿÌͽÀÉÊÃÌÖ½»ÀÍÌÚÈÀÌÅÉÆ×ÅÉÇÉ¿ÀÆÀĽÉÂÇÉÁÈÖË»ÂÆÃÒÃÚÇÀÁ¿ÎËÃÌÎÈÅ»ÇÃûÓÃÇ»Êʻ˻ÍÉÇªÉÆ×ÂÎÄÍÀÌ×
ÃÈÌÍËÎÅÑÃÚÇÃÊËÃÆ»¾»ÀÇÖÇÃÅ»ÓÀÇλÊʻ˻ÍÎ
1.
ËÉÌÌÀÆ×ÈÉÀÊÎÌÅɽÉÀÎÌÍËÉÄÌͽÉ
2.
ÆÉÅÃËɽŻ¿ËÉÌÌÀÆ×ÈɾÉÊÎÌÅɽɾÉÎÌÍËÉÄÌͽ»ÊËÀ¿ÉÐË»ÈÃÍÀÆ×ÈÉÀÊÎÌÅɽÉÀÎÌÍËÉÄÌͽÉ
3.
ÖÅÆÙÒ»ÍÀÆ×»Áþ»ÈÃÚ
4.
¥ËÖÓÅ»Ç»ÌÆÚÈɾɼ»Å»
5.
ɽ˻ÍÈÖÄÌÍ»ËÍÀË
6.
ªÀËÀ¿ÈÚÚËÎÅÉÚÍÅ»
7.
¥ËÖÓÅ»ÍÉÊÆÃ½Èɾɼ»Å»
8.
ÀÅÉÇÊËÀÌÌÃÉÈÈÖÄÅÆ»Ê»È
9.
+ËÖÓÅ»½É¿ÎÓÈɾÉÏÃÆ×ÍË»
10.
¨»ÊË»½ÆÚÙÔ»ÚÓÃÈ»
11.
ªÃÆ×È»ÚÑÀÊ×
12.
ªÀËÀ¿ÈÃÄÔÃÍÉÅ¿ÆÚ»ÔÃÍÖËÎÅÃ
13.
«ÎÒÅ»Â»ÌÆÉÈÅÃ
14.
±ÀÊÈÉÄÍÉËÇÉÂ
15.
³ÃÊɽ»ÈÈÖļÎÏÀË
16.
±ÀÊÈÉÄɾ˻ÈÃÒÃÍÀÆ×
17.
ÉÅɽÉÄÅÉËÊÎÌ
18.
¢»ÁÃÇȻھ»ÄŻȻÊË»½ÆÚÙÔÀÄÓÃÈÖ
¥ÉÁÎÐÈ»ÊË»½ÆÚÙÔÀÄÓÃÈÖ
20.
¥ÉÆ×ÑÀ½Éľ»ÀÒÈÖÄÅÆÙÒ#OMBI
21.
«ÎÅɽɿÌͽÉÊÉÆ×Âɽ»ÍÀÆÚ
RU-3