Бензопилы Forte FGS 45-45 (37486) - инструкция пользователя по применению, эксплуатации и установке на русском языке. Мы надеемся, она поможет вам решить возникшие у вас вопросы при эксплуатации техники.
Если остались вопросы, задайте их в комментариях после инструкции.
"Загружаем инструкцию", означает, что нужно подождать пока файл загрузится и можно будет его читать онлайн. Некоторые инструкции очень большие и время их появления зависит от вашей скорости интернета.

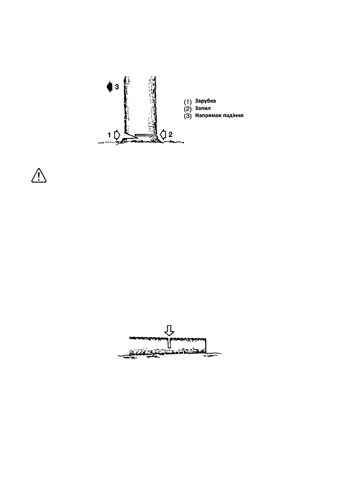
3. Виконайте зарубку розміром в одну третину діаметра стовбура з
боку валки.
4. Пиляйте дерево з іншого боку, трохи вище нижнього зрізу
зарубки.
Коли ви спилюєте дерево, попередьте тих, хто працює поряд з вами.
Обрізка гілок поваленого дерева
УВАГА!!!
• Завжди знаходьте для себе міцну основу для роботи. Не
вставайте на дерево.
• Будьте уважні, стовбур може покотитися. Якщо ви
знаходитесь на схилі, то працюйте з боку, розташованої вище
дерева.
• Уникайте віддачу, виконуючи інструкції, наведені в розділі
"Для вашої безпеки".
Перед початком роботи перевірте, в який напрямок нагинається
дерево. Завершіть пиляння з протилежного боку, щоб бензопила не
застрягла в розрізі.
Після повалення дерева
Розпиляєте до половини діаметра, потім переверніть стовбур і
пиляйте з протилежного боку.
Якщо стовбур піднятий з землі
На ділянці "А" пропиляєте одну третину діаметра знизу і завершіть
роботу зверху. На ділянці "В" пропиляєте одну третину діаметра
зверху, і завершите роботу знизу.
Характеристики
Остались вопросы?Не нашли свой ответ в руководстве или возникли другие проблемы? Задайте свой вопрос в форме ниже с подробным описанием вашей ситуации, чтобы другие люди и специалисты смогли дать на него ответ. Если вы знаете как решить проблему другого человека, пожалуйста, подскажите ему :)