Бензопилы Энергомаш ПТ-99456 - инструкция пользователя по применению, эксплуатации и установке на русском языке. Мы надеемся, она поможет вам решить возникшие у вас вопросы при эксплуатации техники.
Если остались вопросы, задайте их в комментариях после инструкции.
"Загружаем инструкцию", означает, что нужно подождать пока файл загрузится и можно будет его читать онлайн. Некоторые инструкции очень большие и время их появления зависит от вашей скорости интернета.

Инструкция по эксплуатации и техническому обслуживанию Бензопила стр.
20
Руководство по выявлению неисправностей
1. Неполадки при запуске:
Убедитесь, что система по предотвращению обледенения не работает
2. Нехватка мощности, плохое ускорение, грубый холостой режим
Проверьте топливо на воду
или нестандартную смесь
Залейте хорошее топливо
Проверьте на переполнение
двигателя топливом
Выкрутите и высушите свечу
зажигания. Затем снова
дерните стартер без
воздушной заслонки
Проверьте свечу зажигание
на наличие искры
Замените свечу на новую
Проверьте топливо на
наличие воды
Залейте хорошее топливо
Проверьте воздушный и
топливный фильтры
Почистите фильтры
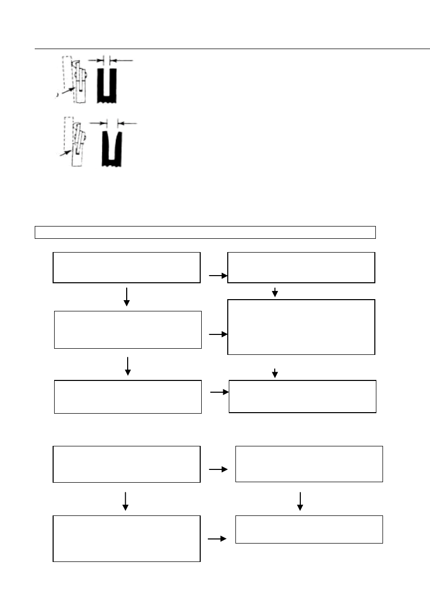
направляю
есть зазор
нет зазора
Содержание
- 6 Установка пильной шины и пильной цепи
- 8 Топливо и масло для цепи
- 10 Управление двигателем:; топливо
- 11 рычаг заслонки
- 12 Цепной тормоз; игла
- 13 Распиливание
- 15 масляный порт
- 16 Точки периодического обслуживания:
- 17 топливный фильтр
- 18 Техническое обслуживание пильной цепи и пильной шины
- 20 Руководство по выявлению неисправностей; Нехватка мощности, плохое ускорение, грубый холостой режим; направляю
- 21 Проверьте карбюратор
- 22 Технические характеристики: