Бензопилы Энергомаш ПТ-99371Б - инструкция пользователя по применению, эксплуатации и установке на русском языке. Мы надеемся, она поможет вам решить возникшие у вас вопросы при эксплуатации техники.
Если остались вопросы, задайте их в комментариях после инструкции.
"Загружаем инструкцию", означает, что нужно подождать пока файл загрузится и можно будет его читать онлайн. Некоторые инструкции очень большие и время их появления зависит от вашей скорости интернета.

Инструкция по эксплуатации и тех обслуживанию. Пила бензиновая
стр. 23
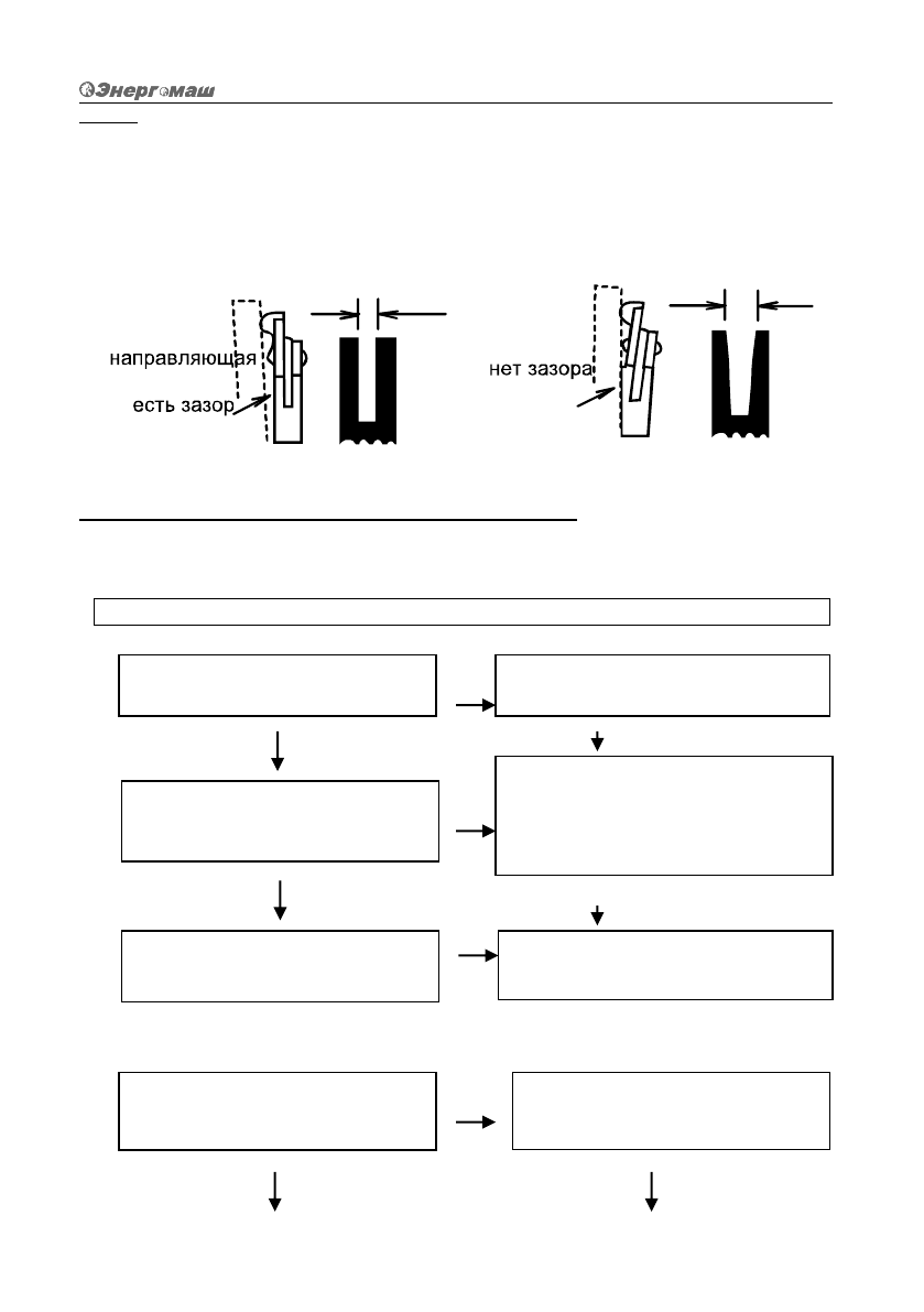
• Направляющая шины должна всегда быть прямоугольной. Проверяйте
на наличие ее износа. Проверяйте шину и внешнюю сторону резца с
линейкой. Если между ними есть зазор, направляющая нормальна. В
ином случае она изношена. Такую шину нужно корректировать или
заменять.
Руководство по выявлению неисправностей
Случай 1. Неполадки при старте
Убедитесь, что система по предотвращению обледенения не работает
Случай 2. Нехватка мощности/ плохое ускорение/ грубый холостой режим
Проверьте топливо на воду
или нестандартную смесь
Замените на правильное
топливо
Проверьте на перелив
топлива
Удалите и высушите свечу
зажигания. Затем снова дерните
стартер без воздушной
заслонки
Проверьте искровое
зажигание
Замените свечу на новую
Проверьте топливо на воду
или нестандартную смесь
Замените на правильное
топливо