Беговые дорожки DFC T2001B - инструкция пользователя по применению, эксплуатации и установке на русском языке. Мы надеемся, она поможет вам решить возникшие у вас вопросы при эксплуатации техники.
Если остались вопросы, задайте их в комментариях после инструкции.
"Загружаем инструкцию", означает, что нужно подождать пока файл загрузится и можно будет его читать онлайн. Некоторые инструкции очень большие и время их появления зависит от вашей скорости интернета.

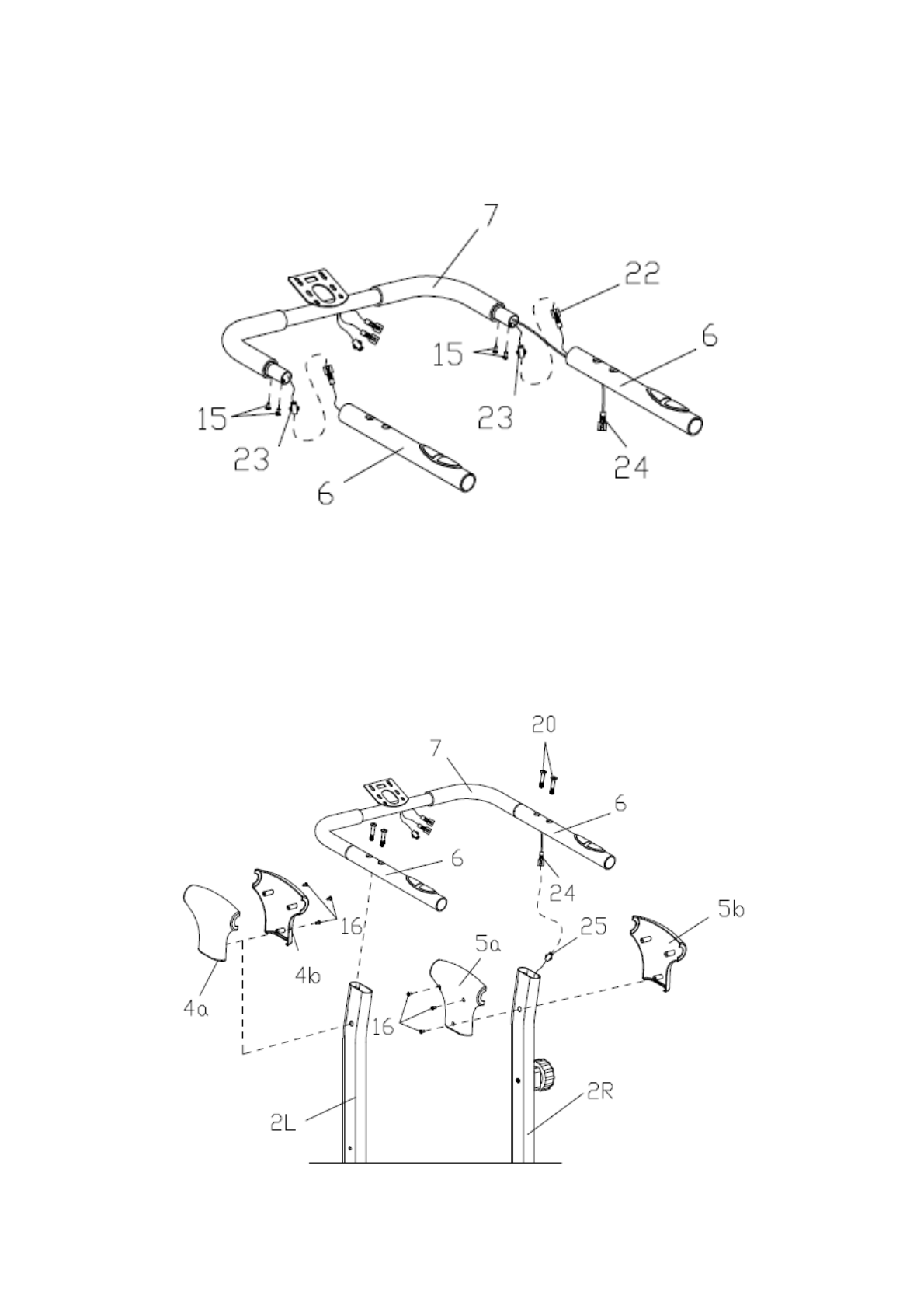
ШАГ 3
1.
Пропустите провод (24) через отверстие внизу правой рукоятки(6);
2.
Соедините датчик пульса (22) с проводом пульсометра (23), который с двух сторон
рукоятки (6), затем прикрепите рукоятку (6) к фиксированному поручню (7) винтом (15).
ШАГ 4
1.
Соедините провод (24) и провод (25), затем прикрепите рукоятку (6) к левой и правой
стойкам (2L/R) винтом (20).
2.
Прикрепите левую и правую крышки рукоятки (4a/b, 5a/b) к левой и правой стойкам (2L/R)
винтом (16).
Характеристики
Остались вопросы?Не нашли свой ответ в руководстве или возникли другие проблемы? Задайте свой вопрос в форме ниже с подробным описанием вашей ситуации, чтобы другие люди и специалисты смогли дать на него ответ. Если вы знаете как решить проблему другого человека, пожалуйста, подскажите ему :)













