Baxi SIG 11 i / 13 Fi (i) - Инструкция по эксплуатации

Baxi SIG 11 i / 13 Fi (i)

Водонагреватель Baxi SIG 11 i / 13 Fi (i) - инструкция пользователя по применению, эксплуатации и установке на русском языке. Мы надеемся, она поможет вам решить возникшие у вас вопросы при эксплуатации техники.

Если остались дополнительные вопросы — свяжитесь с нами через контактную форму.

1 Страница 1
2 Страница 2
3 Страница 3
4 Страница 4
5 Страница 5
6 Страница 6
7 Страница 7
8 Страница 8
9 Страница 9
10 Страница 10
11 Страница 11
Страница: / 11
Загрузка инструкции





SIG 11 i – 13 i – 13 Fi

Газовые

колонки

(

проточные

газовые

водонагреватели

)

с

автоматическим

включением

,

модуляцией

пламени

и

электронным

розжигом

Руководство

по

установке

и

эксплуатации











Компания

BAXI S.p.A.

-

один

из

европейских

лидеров

по

производству

отопительных

и

водонагревательных

систем

для

домашнего

поль

-

зования

(

настенных

газовых

котлов

,

напольных

котлов

,

электрических

водонагревателей

).

Компания

имеет

сертификат

CSQ,

удостоверяю

-

щий

соответствие

нормам

UNI EN ISO 9001.

Стандарты

,

предусмотренные

в

нормах

UNI EN ISO 9001,

охватывают

все

этапы

организации

производства

.

Сертификат

UNI EN ISO 9001

гарантирует

Вам

следующее

.

Система

контроля

качества

,

применяемая

на

заводе

BAXI S.p.A.

в

городе

Bassano del Grappa

(

Бассано

дель

Граппа

),

где

изготовлен

ваш

котел

,

отвечает

самым

строгим

мировым

стандартам

.

"Загрузка инструкции" означает, что нужно подождать пока файл загрузится и можно будет его читать онлайн. Некоторые инструкции очень большие и время их появления зависит от вашей скорости интернета.

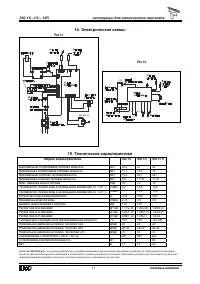
Характеристики

Другие модели - Водонагреватели Baxi

Все водонагреватели Baxi