Страница 2 - Используемые обозначения; ПРИ МЕ ЧА НИЕ; Содержание
2 Содержание Используемые обозначения ВНИМАНИЕ! Требования, несоблюдение которых может приве- сти к тяжелой травме или серьезному поврежде- нию оборудования. ОС ТО РОЖ НО! Требования, несоблюдение которых может при- вести к серьезной травме или летальному исходу. ПРИ МЕ ЧА НИЕ 1. В тексте данной инс...
Страница 3 - Правила безопасности
3 Правила безопасности лятор при появлении искрения, наличии види- мых повреждений кабеля. 1.13 Не используйте тепловентилятор не по его прямому назначению (сушка одежды и т.п.). 1.14 Не пытайтесь самостоятельно отремон- тировать тепловентилятор. Обратитесь к ква- лифицированному специалисту. 1.15 П...
Страница 4 - Основные преимущества:; Принцип работы
4 и BHP-W4-15-D используется двухрядный тепло- обменник, в модели в модели BHP-W4-20-S и BHP-W4-20-D трехрядный теплообменник. 2. Осевой вентилятор: максимальная рабочая тем- пература составляет 60 °С, напряжение питания составляет 230 В~50 Гц. Двигатель имеет класс защиты IP54. Циркуляция воздуха п...
Страница 5 - Технические характеристики; брутто; Монтаж прибора
5 Технические характеристики Параметр / Модель BHP-W4-15-S BHP-W4-15-D BHP-W4-20-S BHP-W4-20-D Количество рядов нагревателя 2 2 3 3 Тип воздушной решетки Однонаправленная Анемостат Однонаправленная Анемостат Производительность по воздуху, м3/ч 1900/1100/800 1900/1100/800 1600/1000/750 1600/1000/750 ...
Страница 6 - Монтаж с кронштейном; îïòèìàëüíî
6 *для горизонтальной установки направляющих жалюзи **для симметричной установки направляющих жалюзи под углом 45° • дальность струи воздуха; • уровень шума оборудования (в зависимости от акустических особенностей помещения); • рабочее состояние, отопление – например, обо- рудование, работающее как ...
Страница 7 - Подключение электропитания
7 Примерное размещение тепловентиляторов при настенном монтаже Вид сверху (вариант 1) Вид сверху (вариант 2) Удаление воздуха / спуск теплоносителя Слив теплоносителя производится посредством отсоединения подводящего трубопровода от нижнего коллектора теплообменника. При первичном запуске или в случ...
Страница 13 - Сертификация продукции; Товар сертифицирован на территории; Свидетельство о приемке
13 Сертификация продукции Товар сертифицирован на территории Таможенного союза. Товар соответствует требованиям нормативных документов: ТР ТС 004/2011 "О безопасности низковольтного оборудования", ТР ТС 020/2011 "Электромагнитная совместимость технических средств" ТР ТС 010/2011 «О б...
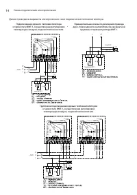
Страница 14 - Схемы подключения электропитания
14 Далее приведены варианты электрических схем подключения тепловентилятора: Схемы подключения электропитания ye llo w -g re en bla ck blu e low speed hight speed middle speed re d gr ey br ow n C or an ge 1234567 ХТ 2 VENT 2/3 L <- BRC-C VENT MAX VENT 1/3 HEAT N N HEAT L YA1 Пульт В RC-W SA1 I I...
Страница 15 - Подключение водяного тепловентилятора; Групповое подключение водяных тепловентиляторов
15 Схемы подключения электропитания ye llo w -g re en bla ck blu e low speed hight speed middle speed re d gr ey br ow n C or an ge 1234567 ХТ 2 VENT 2/3 L <- BRC-C VENT MAX VENT 1/3 HEAT N N HEAT L YA1 Пульт В RC-W SA1 I II III 0 SK1 t ,° C GND Y X RK1 - t° R e m o t e te m p e r a t u r e s e n...
Страница 17 - Групповое подключение водяных тепловентиляторов к пульту BRC-W.
17 Схемы подключения электропитания ye llo w -g re en bla ck blu e low speed hight speed middle speed re d gr ey br ow n C or an ge 1234567 ХТ 2 VENT 2/3 L <- BRC-C VENT MAX VENT 1/3 HEAT N N HEAT L YA1 Пульт В RC-W SA1 I II III 0 SK1 t ,° C GND Y X RK1 - t° R e m o t e te m p e r a t u r e s e n...
Страница 23 - ГАРАНТИЙНЫЙ ТАЛОН; ТИП
ГАРАНТИЙНЫЙ ТАЛОН Настоящий документ не ограничивает определенные законом права потребителей,но дополняет и уточняет оговоренные законом обязательства, предполагающие соглашение сторон либо договор ТИП Срок службы Сплит-системы, мобильные кондиционеры, осушители, электрические обогреватели (конвекто...
Страница 24 - Настоящая гарантия не распространяется на:
Настоящая гарантия распространяется на произ-водственный или конструкционный дефект изделия Выполнение уполномоченным сервисным центром ре- монтных работ и замена дефектных деталей изделия про-изводятся в сервисном центре или у Покупателя (по усмо-трению сервисного центра). Гарантийный ремонт издели...
Страница 25 - Особые условия эксплуатации кондиционеров; В обязательном порядке при эксплуатации ультразву-
• неправильного хранения изделия;• необходимости замены ламп, фильтров, элементов пита- ния, аккумуляторов, предохранителей, а также стеклян-ных/фарфоровых/матерчатых и перемещаемых вручную деталей и других дополнительных быстроизнашиваю-щихся/сменных деталей изделия, которые имеют соб-ственный огра...
Страница 26 - Памятка по уходу за кондиционером:
2. Перед началом эксплуатации воздухоочистителя извле- ките фильтры из упаковки. Для нормального распреде-ления очищенного воздуха по объему помещения не устанавливайте воздухоочиститель в воздушном потоке (на сквозняке, перед вентилятором и т. д.). Повреждение фильтра может привести к снижению эффе...
Страница 27 - сохраняется у клиента; УНИВЕРСАЛЬНЫЙ ОТРЫВНОЙ ТАЛОН; на гарантийное обслуживание
ГАРАНТИЙНЫЙ ТАЛОН сохраняется у клиента Заполняется продавцом Модель _____________________________________ Серийный номер ____________________________ Дата продажи _______________________________ Название продавца __________________________ ____________________________________________ Адрес продавца...