Автосигнализации Pharaon LC-400 - инструкция пользователя по применению, эксплуатации и установке на русском языке. Мы надеемся, она поможет вам решить возникшие у вас вопросы при эксплуатации техники.
Если остались вопросы, задайте их в комментариях после инструкции.
"Загружаем инструкцию", означает, что нужно подождать пока файл загрузится и можно будет его читать онлайн. Некоторые инструкции очень большие и время их появления зависит от вашей скорости интернета.

31
МО
ДЕЛЬ: L
C-400
BLACK
После входа в выбранную таблицу программирования функций
можно приступить к изменению значений программируемых функций.
Для этого выполните следующие действия:
1. Нажмите кнопку на антенном модуле количество раз,
необходимое для перехода от текущей функции к требуемой.
Каждое нажатие кнопки сопровождается звуковыми сигналами
звукового излучателя на антенном модуле, сообщающими
значение текущей функции (один, два, три или четыре коротких
звуковых сигнала). Светодиод на антенном модуле сериями
вспышек указывает номер текущей функции (количество
вспышек в серии соответствует номеру текущей функции).
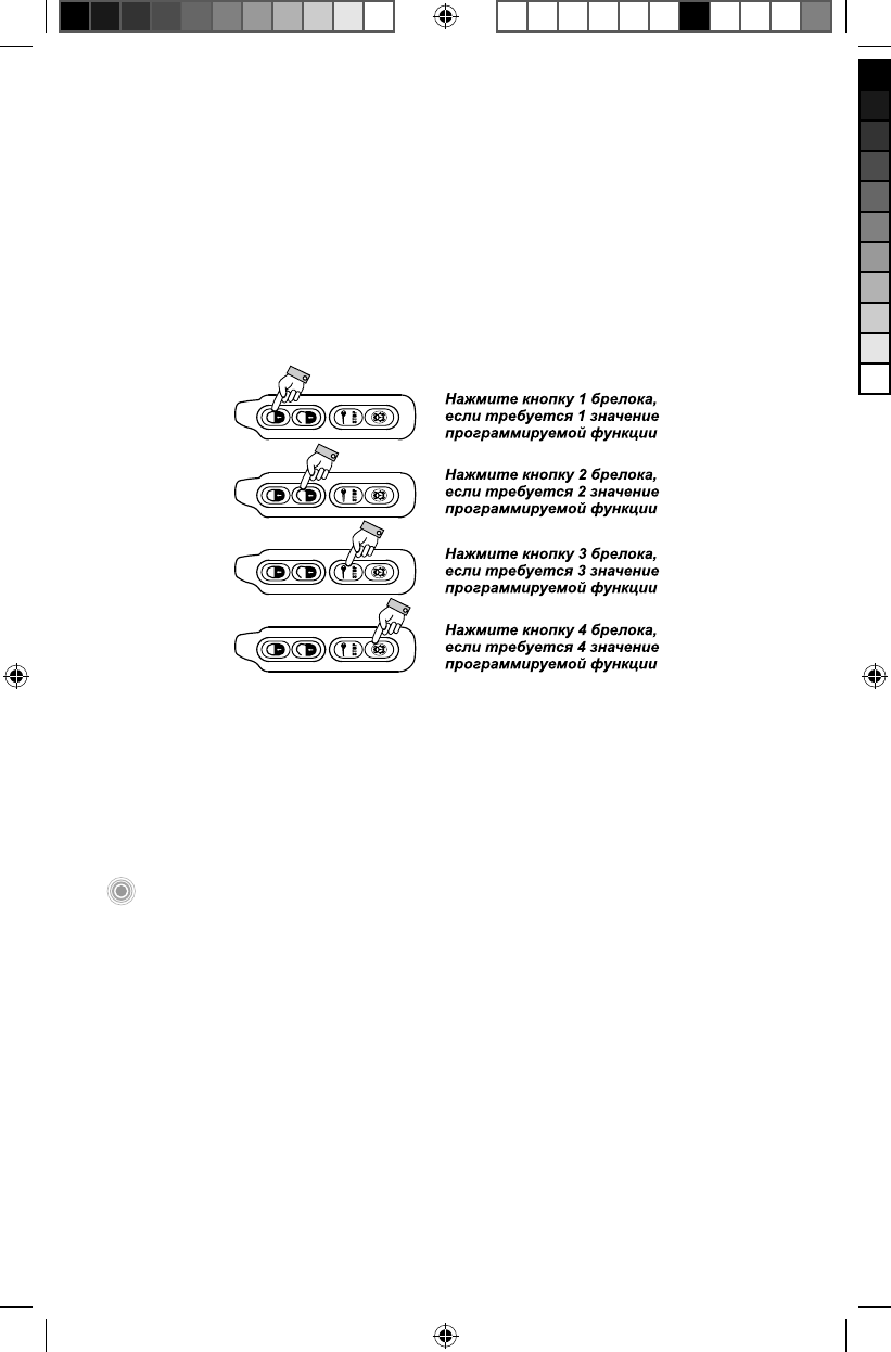
2. Кнопками брелока установите требуемое значение функции.
Рис. 32
Выбранное значение функции подтверждается соответствующим
количеством звуковых сигналов сирены (один, два, три или
четыре коротких звуковых сигнала).
3. Повторите пункты 1) и 2) для всех функций, требующих
изменения. Включите зажигание.
Система издаст два протяжных звуковых сигнала сирены,
подтверждающих выход из режима программирования функций.
ПРИМЕЧАНИЕ
Таблицы программируемых функций системы
PHARAON LC-400 приводятся в разделе справочной информации
на стр. 57.
ИЗМЕНЕНИЕ ПИН-КОДА
Для обеспечения высокого уровня защиты необходимо изменить
заводское значение (11) на индивидуальный код аварийного снятия
системы с охраны. ПИН-код состоит из двух цифр. Каждая цифра
персонального кода может иметь значение от «1» до «9». Для входа
в меню программирования нового персонального кода выполните
действия, изображенные на рис. 33.
pharaon_LC-400-user.indd 31
pharaon_LC-400-user.indd 31
10.06.2014 16:11:26
10.06.2014 16:11:26
Process Black
Содержание
- 2 НАЗНАЧЕНИЕ; Система PHARAON LC-400 предназначена для оповещения; ОГЛАВЛЕНИЕ; Функции PHARAON LC-400
- 3 МО; Многофункциональная кнопка VALET
- 4 КОМПЛЕКТ ПОСТАВКИ; При покупке системы убедитесь в комплектности поставки.; Наименование
- 5 ФУНКЦИИ PHARAON LC-400; ФУНКЦИИ ПРОЦЕССОРНОГО БЛОКА
- 6 ТЕХНИЧЕСКИЕ ПАРАМЕТРЫ; Не менее
- 7 ЗНАЧЕНИЕ СИМВОЛОВ БРЕЛОКА-КОММУНИКАТОРА; СИМВОЛ
- 8 ВНЕШНИЙ ВИД И НАЗНАЧЕНИЕ КНОПОК БРЕЛОКОВ; напряжения АКБ
- 9 ПОДГОТОВКА БРЕЛОКА-КОММУНИКАТОРА К РАБОТЕ; Для замены элемента питания осуществите действия,; ОПИСАНИЕ МЕНЮ БРЕЛОКА-КОММУНИКАТОРА
- 10 Для входа в меню брелока
- 11 Для сохранения значения времени в память блока*; Реакция системы на команду; Нажать кнопку
- 14 Нажать комбинацию; ПРИМЕЧАНИЕ
- 15 Светодиод на корпусе антенного модуля начнет мигать с частотой; БЕЗЗВУЧНЫЙ РЕЖИМ ОХРАНЫ; Если Вы оставляете автомобиль в местах, где звуковые сигналы
- 16 Символ; Если возникла необходимость оставить автомобиль под охраной; Постановка в режим охраны с отключением датчика удара
- 17 АВТОМАТИЧЕСКОЕ ВКЛЮЧЕНИЕ РЕЖИМА ОХРАНЫ; Система может самостоятельно переходить в режим охраны, если
- 18 РЕЖИМ ОХРАНЫ; В режиме охраны светодиод на корпусе антенного модуля мигает; РЕЖИМ ТРЕВОГИ; Если в режиме охраны открыть дверь, капот, багажник или
- 19 Тревога может быть остановлена кратковременным нажатием
- 20 АВТОМАТИЧЕСКАЯ ПЕРЕПОСТАНОВКА В РЕЖИМ ОХРАНЫ; СПОСОБЫ СНЯТИЯ СИСТЕМЫ С РЕЖИМА ОХРАНЫ; Отключение охраны со звуковыми сигналами подтверждения
- 21 Отключение охраны без звуковых сигналов подтверждения; Светодиоды на корпусе антенного модуля перестанут равномерно; Если программная функция No 4, таб. 1 установлена во 2 значение,
- 22 При поломке брелока сохраняется возможность выключения
- 23 Аварийное снятие с охраны
- 24 СНЯТИЕ С ОХРАНЫ В РЕЖИМЕ ТРЕВОГИ; Если система находится в состоянии тревоги, то нажатие любой; ИНДИКАЦИЯ ПРИЧИН ТРЕВОГ; Если автомобиль находится вне зоны действия брелока-
- 25 МНОГОФУНКЦИОНАЛЬНАЯ КНОПКА VALET; Многофункциональная кнопка VALET на корпусе антенного модуля; ВЫЗОВ ВЛАДЕЛЬЦА АВТОМОБИЛЯ; Владелец автомобиля может быть вызван пассажиром с помощью
- 27 РЕЖИМ VALET; Включение режима VALET
- 28 Включение режима VALET с брелока; ПРОГРАММИРОВАНИЕ БРЕЛОКОВ; При утере одного из брелоков или желании использовать
- 29 Для выхода из режима программирования брелоков достаточно
- 30 ПРОГРАММИРОВАНИЕ ФУНКЦИЙ; Система PHARAON LC-400 имеет три таблицы программирования; Выбор таблицы программирования функции
- 32 Выбор таблицы программирования функций; Нажмите кнопку VALET на антенном модуле количество раз,
- 33 Сделайте паузу до вспышки светодиода, подтверждающей прием; ИЗМЕНЕНИЕ ИНДИВИДУАЛЬНОГО R–КОДА
- 35 Если R-код не соответствует желаемому, то необходимо повторить; ЗАПИСЬ ОБОРОТОВ ХОЛОСТОГО ХОДА В ПАМЯТЬ СИСТЕМЫ; Перед записью оборотов холостого хода в память системы
- 36 ЭНЕРГОНЕЗАВИСИМАЯ ПАМЯТЬ СОСТОЯНИЯ; Условия, необходимые для успешного запуска
- 37 запущен; Выполнение резервирования; Звуковой сигнал излучателя на антенном модуле сообщает о начале
- 38 Включение турботаймера
- 39 Режим «Турботаймер» автоматически выключается при открытии; Постановка системы в режим охраны, при включенном; Постановка в режим Pit-Stop; Дистанционный запуск двигателя возможен только при условии; Дистанционный запуск двигателя
- 40 Время работы двигателя определяется программируемой; ДИСТАНЦИОННОЕ ПРОДЛЕНИЕ РЕЖИМА АВТОЗАПУСКА; Если установленного времени работы двигателя оказалось; АВТОМАТИЧЕСКИЙ ЗАПУСК ДВИГАТЕЛЯ ПО ТАЙМЕРУ*; В холодных климатических зонах, где остановка двигателя на
- 41 Перейдите к пункту установки таймерного запуска двигателя
- 42 АВТОМАТИЧЕСКИЙ ЗАПУСК ДВИГАТЕЛЯ ПО ТЕМПЕРАТУРЕ*
- 44 Для выхода из меню брелока
- 45 АВТОМАТИЧЕСКИЙ ЗАПУСК ДВИГАТЕЛЯ В ЗАДАННОЕ ВРЕМЯ*; Функция обеспечивает максимальный комфорт для пользователей
- 46 Для установки текущего значения минут; После проведения настройки выбранное значение хранится в
- 47 Включение функции запуска двигателя в заданное время; При использовании функции запуска двигателя в заданное время; ЗАПУСК ДВИГАТЕЛЯ ОТ ВНЕШНЕГО УСТРОЙСТВА; Система позволяет осуществлять запуск от внешних устройств.; СЕРВИСНЫЕ ФУНКЦИИ СИСТЕМЫ; РЕЖИМ ПОИСКА АВТОМОБИЛЯ; Когда автомобиль находится в режиме охраны на большой; Функция поиска автомобиля
- 48 ОПРОС СОСТОЯНИЯ; С помощью системы PHARAON LC-400 можно проверить состояние; Опрос состояния автомобиля; Система покажет реальное состояние дверей, капота, багажника и; ОПРОС ТЕМПЕРАТУРЫ В САЛОНЕ; Нажатие кнопки следующее за опросом состояния производит; Опрос температуры; Если автомобиль находится вне зоны действия, то брелок издаст
- 49 ОПРОС НАПРЯЖЕНИЯ БОРТОВОЙ СЕТИ; ВКЛЮЧЕНИЕ ФУНКЦИИ КОНТРОЛЯ ЗОНЫ ОПОВЕЩЕНИЯ
- 50 ДИСТАНЦИОННОЕ ОТПИРАНИЕ БАГАЖНИКА
- 51 ПРИОРИТЕТНОЕ ОТПИРАНИЕ ДВЕРИ ВОДИТЕЛЯ
- 52 РЕЖИМ «ПАНИКА»; Режимы «Паника» используются в случае опасности при; РЕЖИМ ANTI CAR-HIJACK; Режим Anti Car-hijack предотвращает попытку завладеть; Активация режима Anti Car-hijack
- 53 Включение режима Anti Car-hijack; и 2 этапы: Возможно быстрое выключение режима Anti Car-hijack
- 54 БЛОКИРОВКА КНОПОК БРЕЛОКА; Блокировка клавиатуры брелока-коммуникатора позволяет; Блокировка клавиатуры брелока; После включения блокировки клавиатуры нажатие любой кнопки; С помощью меню брелока можно комбинировать использование
- 55 Перейдите к пункту установки вибросигнала брелока; Первый режим: в брелоке включены звуковые сигналы при
- 56 ВКЛЮЧЕНИЕ ЭНЕРГОСБЕРЕГАЮЩЕГО РЕЖИМА БРЕЛОКА
- 57 Приемник брелока-коммуникатора будет отключен. Вы не будите; ФУНКЦИЯ КОНТРОЛЯ СОСТОЯНИЯ АКБ; Если функция контроля АКБ включена, то при снижении напряжения; Функция контроля состояния АКБ; Если все 6 звуковых сообщений брелока будут пропущены; СПРАВОЧНИК; ТАБЛИЦА ПРОГРАММИРУЕМЫХ ФУНКЦИЙ
- 58 Значения функций, находящиеся в первой колонке, являются
- 60 ФУНКЦИИ ТАБЛИЦЫ No 1 УСТАНОВЛЕНЫ В ЗНАЧЕНИЯ: