Jaguar JM-370_JM-390 - Инструкция по эксплуатации - Страница 29

Автосигнализации Jaguar JM-370_JM-390 - инструкция пользователя по применению, эксплуатации и установке на русском языке. Мы надеемся, она поможет вам решить возникшие у вас вопросы при эксплуатации техники.

Если остались вопросы, задайте их в комментариях после инструкции.

"Загружаем инструкцию", означает, что нужно подождать пока файл загрузится и можно будет его читать онлайн. Некоторые инструкции очень большие и время их появления зависит от вашей скорости интернета.
Страница:
/ 40
Загружаем инструкцию
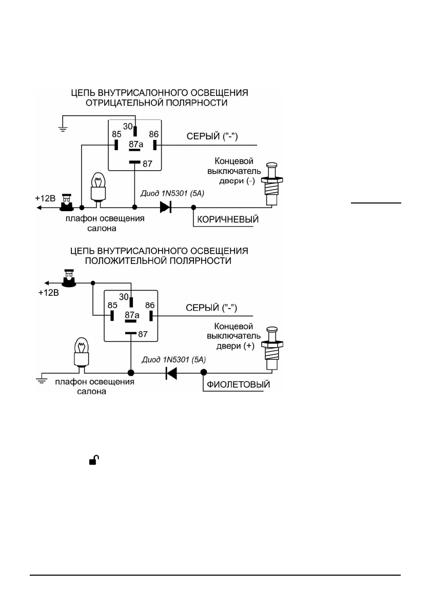
background image

JAGUAR JM-390 “

 

 

”  

 

©

 Saturn Marketing, Ltd. 

4) 

Ы

 

 

 

 

 

 “

 

 

 

 

-

 

щ

 

” (

 

 

 19).   

 

 

 

 

-

 

 

 

 

 

 

 

 

Ы

 

 

 

 

 

” 

 30 

 

 

 

   

  (

 

 

 

 

 

ё

 

)   

 

 

 

 

 

 

  (

 

 

 

). 

 

Ы

 

   

   

 86 

 30  

 

 

 

 

 85 

-

   +12  

 

-

 

 

 

   

   

 

 

-

 

 

 

 

 

 

 
 
 

В И А ИЕ

:

 

 

 

 

 

-

 

 

 

-

 

 

 

 

 

 

 

 

 

 

 

 

 

 

 

 

   

 

 

 

-

 

   

 

-

 
 
 
 
 
 
 

 

 
 
 
 
 
 

 

 

5)

 

 

 

 

 

Ы

 

 

 

 

 

 

  “

 

 

 

 

 

 

 

-

 

 

 

” (

 

 

 19).   

 

 

 

 

 

 

-

 

 

 

 

 

 

 

 

 

 

 

 

 

 

 30 

 

 

 

 

 

   

 

-

.  

 

 

 

   

 

 30 

 

 

 

 

 

   

 

 

 

 

 

 

 

 

 

-

 

 

 

 

 

 

 

 

 

 

 + 

 3 

-

 

 

 

 

 

 

 

-

 

 

 

 “

” 

 

 

 

Ы

 

   

 

 

Полезные видео

Характеристики

Оцените статью
tehnopanorama.ru
Остались вопросы?

Не нашли свой ответ в руководстве или возникли другие проблемы? Задайте свой вопрос в форме ниже с подробным описанием вашей ситуации, чтобы другие люди и специалисты смогли дать на него ответ. Если вы знаете как решить проблему другого человека, пожалуйста, подскажите ему :)

Задать вопрос

Часто задаваемые вопросы
Как посмотреть инструкцию к Jaguar JM-370_JM-390?
Необходимо подождать полной загрузки инструкции в сером окне на данной странице
Руководство на русском языке?
Все наши руководства представлены на русском языке или схематично, поэтому вы без труда сможете разобраться с вашей моделью
Как скопировать текст из PDF?
Чтобы скопировать текст со страницы инструкции воспользуйтесь вкладкой "HTML"