Renault SANDERO 2014 - Инструкция по эксплуатации - Страница 62

Автомобили Renault SANDERO 2014 - инструкция пользователя по применению, эксплуатации и установке на русском языке. Мы надеемся, она поможет вам решить возникшие у вас вопросы при эксплуатации техники.

Если остались вопросы, задайте их в комментариях после инструкции.

"Загружаем инструкцию", означает, что нужно подождать пока файл загрузится и можно будет его читать онлайн. Некоторые инструкции очень большие и время их появления зависит от вашей скорости интернета.
Страница:
/ 238
Загружаем инструкцию
background image

Jaune

Noir

Noir texte

1.56

RUS_UD34537_4

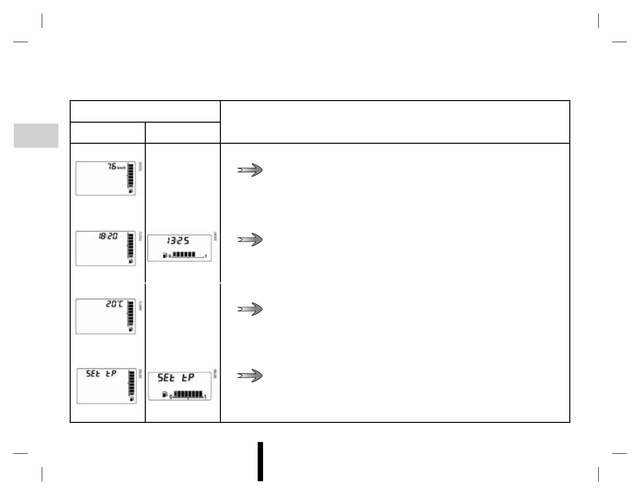
Ordinateur de bord (X52 - Dacia)

RUS_NU_993-5_X52_Dacia_1

ОРТОВО

 

КО П

Т Р

 

(5/5)

И

 

 

   

 

 

АВИСИТ

 

ОТ

 

КО ПЛ КТАЦИИ

 

АВТО О ИЛ

 

И

 

СТРА

 

ПОСТАВКИ

.

П

 

 

   

П

   

 

 

Д

 

А

Д

 B

j)

 

 

 

 

 

 

-

 (  

 

).

 «

 

 

»   

 2.

k)

 

В

.

l)

 

Т

 

 

.

m) 

У

 

   

.

 

 «

 

 

 

 

 

» 

 2.

Полезные видео

Характеристики

Оцените статью
tehnopanorama.ru
Остались вопросы?

Не нашли свой ответ в руководстве или возникли другие проблемы? Задайте свой вопрос в форме ниже с подробным описанием вашей ситуации, чтобы другие люди и специалисты смогли дать на него ответ. Если вы знаете как решить проблему другого человека, пожалуйста, подскажите ему :)

Задать вопрос

Часто задаваемые вопросы
Как посмотреть инструкцию к Renault SANDERO 2014?
Необходимо подождать полной загрузки инструкции в сером окне на данной странице
Руководство на русском языке?
Все наши руководства представлены на русском языке или схематично, поэтому вы без труда сможете разобраться с вашей моделью
Как скопировать текст из PDF?
Чтобы скопировать текст со страницы инструкции воспользуйтесь вкладкой "HTML"