Автомобили Ford Transit Connect 2012 - инструкция пользователя по применению, эксплуатации и установке на русском языке. Мы надеемся, она поможет вам решить возникшие у вас вопросы при эксплуатации техники.
Если остались вопросы, задайте их в комментариях после инструкции.
"Загружаем инструкцию", означает, что нужно подождать пока файл загрузится и можно будет его читать онлайн. Некоторые инструкции очень большие и время их появления зависит от вашей скорости интернета.

ЗАПУСК АВТОМОБИЛЯ ОТ
ВНЕШНЕГО ИСТОЧНИКА
ЭЛЕКТРОПИТАНИЯ
ПРЕДОСТЕРЕЖЕНИЯ
Подсоединяйте аккумуляторную
батарею только с таким же
номинальным напряжением.
Пользуйтесь соединительными
проводами соответствующего
сечения с изолированными
зажимами.
Не отсоединяйте аккумуляторную
батарею от системы
электрооборудования автомобиля.
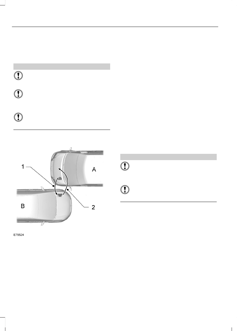
Присоединение проводов
Разряженная аккумуляторная
батарея
A
Автомобиль со
вспомогательной
аккумуляторной батареей
B
"Положительный"
соединительный провод
1
"Отрицательный"
соединительный провод
2
1.
Установите автомобили таким
образом, чтобы они не
соприкасались.
2. Выключите двигатель и отключите
все неиспользуемое
электрооборудование.
3. Соедините положительную клемму
(+) автомобиля
A
с положительной
клеммой (+) автомобиля
B
(провод
1
).
4. Соедините "отрицательную" (-)
клемму аккумуляторной батареи
автомобиля
B
с блоком двигателя
или опорами двигателя автомобиля
A
(провод
2
).
ПРЕДОСТЕРЕЖЕНИЯ
Не присоединяйте провод к
"отрицательному" (-) выводу
разряженной аккумуляторной
батареи.
Убедитесь в том, что провода не
соприкасаются с движущимися
элементами двигателя.
Пуска двигателя
1.
Запустите двигатель автомобиля
B
и установите промежуточную
частоту вращения.
2. Запустите двигатель автомобиля
A
.
3. Дайте двигателям обоих
автомобилей поработать не менее
трех минут, прежде чем отсоединять
кабели.
134
TourneoConnect/TransitConnect (TC7) Vehicles Built From: 24-05-2011, Vehicles Built Up To: 31-12-2013
Аккумуляторная батарея автомобиля
Содержание
- 3 Содержание
- 9 О ДАННОМ РУКОВОДСТВЕ; Защита окружающей среды; СЛОВАРЬ СИМВОЛОВ; ПРЕДУПРЕЖДЕНИЕ; Введение
- 11 Панель управления; Автомобили с левым расположением рулевого колеса; Быстрый обзор
- 14 Независимо от состояния
- 16 ДЕТСКИЕ СИДЕНЬЯ; ПРЕДУПРЕЖДЕНИЯ; Безопасность детей
- 19 АКТИВНА
- 21 Tourneo Connect
- 23 ПРИНЦИПЫ РАБОТЫ; Защита людей, находящихся в автомобиле
- 24 Боковые подушки безопасности; РЕМНИ БЕЗОПАСНОСТИ
- 28 Ключи и пульты дистанционного управления
- 30 Функция двойной блокировки; Запирание дверей ключом; Замки
- 33 Открывание дверей; Сдвижная дверь
- 36 Не допускайте; Иммобилайзер двигателя
- 37 Ложное срабатывание; Сигнализация
- 38 Регулировка громкости; Рулевое колесо
- 39 Поиск; ГОЛОСОВОЕ УПРАВЛЕНИЕ
- 41 Стеклоочистители и стеклоомыватели
- 43 Прерывистый режим работы; или; Омыватель заднего окна
- 45 Стояночные фонари; Сначала выключите зажигание.; Дальний и ближний свет фар; Осветительное оборудование
- 47 Все автомобили; При буксировке прицепа
- 49 УКАЗАТЕЛИ ПОВОРОТА; Слегка нажмите на рычаг; Плафоны местного освещения; ЗАМЕНА ЛАМП
- 50 Фара головного света; Индикатор указателей поворота
- 53 Задние фонари; Задний фонарь и стоп-сигнал; Центральный стоп-сигнал
- 54 Плафон освещения салона; Передний
- 55 ТАБЛИЦА ТЕХНИЧЕСКИХ ХАРАКТЕРИСТИК ЛАМП
- 56 Фонарь заднего хода
- 57 Окна и зеркала
- 60 УКАЗАТЕЛИ; Щиток приборов
- 62 Указатель уровня топлива
- 63 Выполните проверку немедленно.
- 65 Система определения
- 66 Неполное закрывание дверей; Низкий уровень топлива
- 67 ОБЩАЯ ИНФОРМАЦИЯ; Органы управления; Используйте вращающийся регулятор:; Информационные дисплеи
- 69 МАРШРУТНЫЙ КОМПЬЮТЕР; Установка времени
- 71 ЧАСОВ; Настройки автомобиля
- 73 Система помощи при троганьи на подъеме; Освещение; Замена ламп
- 74 Обслуживание
- 75 Поступление наружного воздуха; Отопление; Воздушный фильтр; ПРЕДОСТЕРЕЖЕНИЕ; Органы управления микроклиматом
- 76 Вентилятор; При выключенном; Регулятор температуры воздуха; Незначительная часть
- 77 Рециркуляция воздуха
- 78 Кондиционирование воздуха; Кондиционер воздуха
- 79 и включите; Общая информация
- 80 Принцип действия
- 83 ПЕРЕДНИЕ СИДЕНЬЯ; Сиденья
- 85 Регулировка подлокотника
- 86 ПОДГОЛОВНИКИ; Снятие подголовников; ЗАДНИЕ СИДЕНЬЯ
- 89 СИДЕНЬЯ С ОБОГРЕВОМ
- 90 ПРИКУРИВАТЕЛЬ; Функции обеспечения комфорта
- 91 ПОДСТАВКИ ДЛЯ СТАКАНОВ; Подносы в спинках сидений; Верхнее вещевое отделение
- 92 Карманы на сиденьях; КАРМАНЫ ДЛЯ КАРТ
- 93 Общие правила пуска двигателя; Запуск и остановка двигателя
- 94 ВЫКЛЮЧЕНИЕ ДВИГАТЕЛЯ; ФИЛЬТР ТВЕРДЫХ ЧАСТИЦ; Регенерация
- 95 Не выключайте зажигание.
- 96 Длительное хранение; Топливо и заправка
- 97 При открытой крышке; ЗАПРАВКА ТОПЛИВОМ
- 99 Tourneo и Kombi Connect; Расход топлива
- 100 Коробка передач
- 101 неисправности системы ABS; СТОЯНОЧНЫЙ ТОРМОЗ; Тормоза
- 103 Система динамической стабилизации
- 104 Персональные настройки
- 105 Контроль тягового усилия
- 106 Активация системы; Система помощи при трогании на подъеме
- 107 Дезактивация системы; одно; Блокировка системы
- 108 Системы помощи при парковке
- 109 Если в течение трех
- 110 Релинги крыши; производителя и следуйте ей.; Перевозка груза
- 111 ПРЕДОСТЕРЕЖЕНИЯ
- 112 БУКСИРОВКА ПРИЦЕПА; Крутые спуски и подъемы; Буксировка
- 113 ОБКАТКА; Шины; Тормозная система и сцепление; Двигатель; Советы по вождению
- 114 АПТЕЧКА; Аварийные принадлежности
- 115 Плавкие предохранители
- 117 Номер предохранителя
- 118 ТАБЛИЦА ХАРАКТЕРИСТИК ПЛАВКИХ ПРЕДОХРАНИТЕЛЕЙ; Блок предохранителей в моторном отсеке
- 119 Центральный блок плавких предохранителей
- 122 Передняя буксирная петля; Эвакуация автомобиля
- 124 Ежедневные проверки
- 125 Открывание капота; Закрывание капота
- 127 Проверка уровня масла; Проверяйте уровень
- 128 Незамедлительно; Доливка
- 130 Снимите крышку наливной горловины.
- 131 ТЕХНИЧЕСКИЕ ХАРАКТЕРИСТИКИ; Рабочие жидкости; Долив моторного масла:
- 132 Показатели вместимости; Все
- 133 Очистка фар; Очистка заднего стекла; Очистка легкосплавных дисков; Не используйте; Уход за автомобилем
- 134 ОЧИСТКА САЛОНА
- 135 Задние окна
- 136 Присоединение проводов; Пуска двигателя; Аккумуляторная батарея автомобиля
- 138 ЗАМЕНА КОЛЕСА; Домкрат; Колеса и шины
- 143 Установка колеса
- 144 Хранение снятого колеса; ОБСЛУЖИВАНИЕ ШИН; используете подходящие гайки.
- 145 Transit Connect; Момент затяжки колёсных гаек
- 146 Короткая колесная база
- 148 Идентификация автомобиля
- 149 Размеры автомобиля; Заправочные объемы и технические характеристики
- 153 Размеры буксировочного оборудования; Бампер - конец шаровой опоры буксирного
- 155 Дисплеи аудиоблоков; Звуковой компакт-диск
- 156 Краткое описание аудиоблока
- 158 CODE; Функции безопасности
- 159 Настройка времени и даты; CLOCK; Индикация времени и даты
- 160 Выбранный уровень будет; МЕНЮ АУДИОСИСТЕМЫ; MENU; Использование аудиосистемы
- 164 Поиск станций; Настройка со сканированием
- 165 Меню аудиоблока
- 166 ВЫПУСКИ НОВОСТЕЙ
- 167 В режиме; Проигрыватель компакт-дисков
- 170 Устранение неполадок в работе аудиосистемы
- 171 LOCKED
- 172 НАСТРОЙКА ТЕЛЕФОНА; Телефонная книга; Записи могут; Телефон
- 173 НАСТРОЙКА BLUETOOTH; Пользование телефоном; Если поступает входящий
- 174 УПРАВЛЕНИЕ ТЕЛЕФОНОМ; MODE
- 175 Вызов абонента; Чтобы перейти к; Входящие вызовы
- 176 Для обработки второго; Отключение звука микрофона; Мобильный телефон
- 177 За подробной
- 178 Удаление связанного телефона
- 179 Управляющие команды; Радиоприёмник; Отзыв системы; Голосовое управление
- 180 Принцип действия системы; означает номер или голосовую метку; Голосовые метки; КОМАНДЫ АУДИОБЛОКА; Проигрыватель CD-дисков
- 181 НАЗОВИТЕ НОМЕР ЗАПИСИ
- 182 Радиоприемник; Краткий обзор
- 188 * Может использоваться в качестве ярлыка.; Функции мобильного телефона; Набор номера; НАЗОВИТЕ НОМЕР
- 190 Создание телефонной книги; Сохранение имени
- 192 Основные установки; Отклонение звонков
- 193 ОДОБРЕНИЯ ТИПА; Приложения
- 194 Крепите антенны на
- 197 Указатель
- 206 Электромагнитная
