Автомобили Ford Transit Connect 2008 - инструкция пользователя по применению, эксплуатации и установке на русском языке. Мы надеемся, она поможет вам решить возникшие у вас вопросы при эксплуатации техники.
Если остались вопросы, задайте их в комментариях после инструкции.
"Загружаем инструкцию", означает, что нужно подождать пока файл загрузится и можно будет его читать онлайн. Некоторые инструкции очень большие и время их появления зависит от вашей скорости интернета.

ОБСЛУЖИВАНИЕ
АККУМУЛЯТОРНОЙ БАТАРЕИ
Аккумуляторная батарея практически
не нуждается в обслуживании. Уровень
электролита регулярно проверяется в
рамках каждого технического
обслуживания.
ИСПОЛЬЗОВАНИЕ
СОЕДИНИТЕЛЬНЫХ
ЭЛЕКТРИЧЕСКИХ ПРОВОДОВ
ПРЕДОСТЕРЕЖЕНИЯ
Подсоединяйте аккумуляторную
батарею только с таким же
номинальным напряжением.
Пользуйтесь соединительными
проводами соответствующего
сечения с изолированными зажимами.
Не отсоединяйте аккумуляторную
батарею от системы
электрооборудования автомобиля.
Присоединение проводов
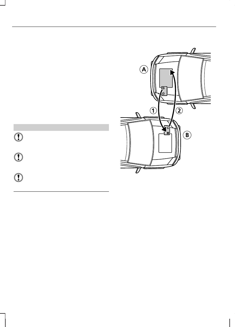
E75524
Разряженная аккумуляторная
батарея
A
Автомобиль со
вспомогательной
аккумуляторной батареей
B
"Положительный"
соединительный провод
1
"Отрицательный"
соединительный провод
2
1. Установите автомобили таким
образом, чтобы они не
соприкасались.
2. Выключите двигатель и отключите
все неиспользуемое
электрооборудование.
128
Аккумуляторная батарея автомобиля
Содержание
- 3 Содержание
- 7 Голосовое управление; Команды управления навигационной; Приложения
- 9 ПРЕДУПРЕЖДЕНИЕ; ведет к повреждению автомобиля.; Введение
- 11 Автомобили с правым расположением рулевого колеса; Органы управления осветительными приборами См.; Осветительное; Указатели поворота См.; Осветительное оборудование; Звуковой сигнал; Функции обеспечения комфорта
- 14 Блокировка и разблокировка; Указатели поворота
- 15 Установка часов
- 16 ДЕТСКИЕ СИДЕНЬЯ; и выполняйте указания производителя.; ПРЕДУПРЕЖДЕНИЯ; Безопасность детей
- 17 лишь поясной ремень безопасности.; чтобы посадить ребенка повыше.; Дополнительное сиденье
- 18 Дополнительная подушка
- 19 Устройства детсткой безопасности с креплениями ISOFIX
- 21 Tourneo Connect
- 23 Заблокировать
- 24 ПРИНЦИПЫ РАБОТЫ; Надувные подушки безопасности; Защита людей, находящихся в автомобиле
- 25 Боковые подушки безопасности; РЕМНИ БЕЗОПАСНОСТИ
- 27 безопасности через направляющую.
- 28 Ключи и пульты дистанционного управления
- 30 Функция двойной блокировки; Замки
- 32 Передние двери; Разблокировать; Открывание дверей; Сдвижная дверь
- 33 Распашные задние двери; Снаружи; Левая задняя дверь
- 35 Программирование ключей; в течение не более пяти; Иммобилайзер двигателя
- 36 Удаление кода; выполните следующие действия:
- 38 Сигнализация
- 39 Регулировка громкости; в сторону; VOL−; в сторону рулевого колеса.; Рулевое колесо
- 40 Поиск
- 41 0 секунд или при пустом бачке.; Омыватель; или если бачок омывателя пустой.; Стеклоочистители и стеклоомыватели
- 43 Фары; Дальний и ближний свет фар; Сигнализация дальним светом фар
- 44 Все автомобили; Увеличение наклона
- 45 Удлиненная колесная база.
- 46 УКАЗАТЕЛИ ПОВОРОТА; Вентилятор выключен
- 47 ЗАМЕНА ЛАМП; Фара головного света; Индикатор указателей поворота; Поверните против часовой стрелки
- 48 Габаритные фонари; Поверните крышку против часовой
- 49 Задние фонари
- 50 Центральный стоп-сигнал
- 51 Плафон освещения салона; Передний; ТАБЛИЦА ТЕХНИЧЕСКИХ ХАРАКТЕРИСТИК ЛАМП
- 53 Окна и зеркала
- 54 Органы управления
- 56 УКАЗАТЕЛИ; ПРЕДОСТЕРЕЖЕНИЕ; Приборы
- 57 Указатель уровня топлива
- 58 Выполните проверку немедленно.
- 59 Индикатор дальнего света фар
- 60 ПРЕДОСТЕРЕЖЕНИЯ
- 62 МАРШРУТНЫЙ КОМПЬЮТЕР; Одометр; Информационные дисплеи
- 63 Поступление наружного воздуха; Отопление; Органы управления микроклиматом
- 64 Вентилятор
- 65 Рециркуляция воздуха; или
- 66 Кондиционирование воздуха; Включите кондиционер.; Режим быстрого охлаждения салона
- 67 кондиционер; останется включённым.; Окна и зеркала с; и включите; Общая информация
- 68 Принцип действия
- 70 Выключение отопителя; . Включится индикация на
- 71 Нажмите и удерживайте кнопку; Программируемый режим прогрева; Нажимайте кнопку
- 72 ON
- 73 ПЕРЕДНИЕ СИДЕНЬЯ; Сиденья
- 75 Регулировка подлокотника
- 77 ПОДГОЛОВНИКИ; Снятие подголовников
- 78 ЗАДНИЕ СИДЕНЬЯ
- 79 Полностью опустите наружные; Третий ряд; Потяните вверх за фиксирующие; Второй ряд; Потяните вниз фиксирующие
- 80 Установите центральный; Надавите вниз на фиксирующие; СИДЕНЬЯ С ОБОГРЕВОМ
- 81 ЧАСЫ; Вариант 1; Установка текущего времени; Вариант 2; ПРИКУРИВАТЕЛЬ
- 82 ПЕПЕЛЬНИЦА
- 83 Transit Connect; ПОДСТАВКИ ДЛЯ СТАКАНОВ; Подносы в спинках сидений; ПЕРЧАТОЧНЫЙ ЯЩИК
- 84 привести к травмам в случае аварии.
- 85 Карман на сиденье водителя; КАРМАНЫ ДЛЯ КАРТ
- 87 ОБЩАЯ ИНФОРМАЦИЯ; Общие правила пуска двигателя; ВЫКЛЮЧАТЕЛЬ ЗАЖИГАНИЯ; Пуск двигателя
- 88 Холодный/прогретый двигатель
- 89 Для всех автомобилей; Нажмите педаль сцепления до; ВЫКЛЮЧЕНИЕ ДВИГАТЕЛЯ
- 90 Регенерация; Не выключайте зажигание.
- 91 МЕРЫ ПРЕДОСТОРОЖНОСТИ; требованиям; или эквивалентного; Топливо и заправка
- 92 ПАРКОВКА; Открыто
- 93 ЗАПРАВКА ТОПЛИВОМ; РАСХОД ТОПЛИВА
- 94 Расход топлива
- 96 Коробка передач
- 97 Дисковые тормозные механизмы; внимательным и осторожным за рулем.; Тормоза
- 98 СТОЯНОЧНЫЙ ТОРМОЗ; Включение стояночного тормоза
- 100 Контроль тягового усилия
- 101 управление автомобилем.; Система помощи при парковке
- 103 Релинги крыши; Точки крепления; Перевозка груза
- 104 перед поездкой; стойки в отделочных панелях.
- 105 БУКСИРОВКА ПРИЦЕПА; Крутые спуски и подъемы; Буксировка
- 106 ОБКАТКА; Шины; Тормозная система и сцепление; Двигатель; Советы по вождению
- 108 Состояние после столкновения
- 109 Ремни безопасности
- 110 Плавкие предохранители
- 112 Номер предохранителя
- 114 Плафоны освещения салона; ТАБЛИЦА ХАРАКТЕРИСТИК ПЛАВКИХ ПРЕДОХРАНИТЕЛЕЙ; Блок предохранителей в моторном отсеке; Электромагнитная муфта компрессора кондиционера; Центральный блок плавких предохранителей; Акустическая система (периферийные устройства)
- 115 Эвакуация автомобиля
- 116 Для установки поворачивайте ее
- 118 Ежедневные проверки; Обслуживание
- 119 Колеса и шины; Открывание капота; Закрывание капота
- 123 Проверка уровня масла; Если уровень находится на отметке; Доливка; Снимите крышку наливной горловины.
- 126 ТЕХНИЧЕСКИЕ ХАРАКТЕРИСТИКИ; Рабочие жидкости
- 127 Показатели вместимости; Все
- 128 загрязнения воздушного фильтра.; Очистка фар; Пользуйтесь мыльной водой.; Уход за автомобилем
- 129 ОЧИСТКА САЛОНА; химические активные растворители.
- 130 номинальным напряжением.; Присоединение проводов; Установите автомобили таким; Аккумуляторная батарея автомобиля
- 131 Пуска двигателя
- 132 ЗАМЕНА КОЛЕСА; Домкрат
- 136 Установите колеса прямо.; Наденьте наконечник с плоской
- 137 Установка колеса; От руки заверните гайки крепления
- 138 колеса и давление воздуха в шинах.; Хранение снятого колеса; ОБСЛУЖИВАНИЕ ШИН; Давление воздуха в шинах
- 140 Момент затяжки колёсных гаек; Сталь; Короткая колесная база
- 143 Идентификация автомобиля
- 146 Длинная колесная база; Габаритная длина
- 147 Колесная база; Размеры буксировочного оборудования
- 149 Масса автомобиля
- 152 функциями аудиосистемы; НАСТРОЙКА ТЕЛЕФОНА; Телефон
- 154 Факс
- 155 В таких случаях смотрите параграф; Изменение активного телефона; НАСТРОЙКА BLUETOOTH; На мобильном телефоне и на; Ford Audio; На клавиатуре телефона
- 156 УПРАВЛЕНИЕ ТЕЛЕФОНОМ; Завершение или отмена вызовов
- 157 С кнопками Voice и Mode; С кнопками Voice и accept/reject; Кнопка Voice
- 158 Вызов абонента
- 159 Приём входящих звонков
- 163 Обработка входящего звонка; Выберите из меню команду
- 164 Воспользовавшись командой меню; ACTIVE PHONE; Выберите из меню команду; DEBOND; При помощи кнопок предустановки
- 165 Управляющие команды; телефона; Отзыв системы
- 166 означает номер или голосовую; Ярлыки; MODE
- 167 КОМАНДЫ АУДИОБЛОКА; Краткий обзор; a) Команда может использоваться только совместно с CD-чейнджером.; Диск
- 168 Трек; a) Может использоваться в качестве ярлыка.; Автомагнитола
- 169 Настройка частоты
- 170 Удаление имени
- 173 Создание телефонной книги; Сохранение имени
- 175 Функции мобильного телефона; сящий от конкретного мобиль-; Набор номера
- 176 Повторный набор номера
- 177 Основные установки
- 178 Система климат-контроля
- 179 Обдув стёкол; Температура воздуха
- 180 Автоматический режим
- 181 ОДОБРЕНИЯ ТИПА
- 185 Указатель
- 193 Ярлыки с информацией о плавких