Автомобили Ford Transit Connect 2003 - инструкция пользователя по применению, эксплуатации и установке на русском языке. Мы надеемся, она поможет вам решить возникшие у вас вопросы при эксплуатации техники.
Если остались вопросы, задайте их в комментариях после инструкции.
"Загружаем инструкцию", означает, что нужно подождать пока файл загрузится и можно будет его читать онлайн. Некоторые инструкции очень большие и время их появления зависит от вашей скорости интернета.

ПРЕДУПРЕЖДЕНИЕ
При возникновении сбоев в
системе электрооборудования
автомобиля сохраняется возможность
открыть ключом передние двери и
заднюю дверь по отдельности.
Систему централизованной блокировки
замков дверей можно активировать при
помощи двери водителя или переднего
пассажира. Функция централизованной
блокировки может осуществляться и
со стороны замков задних дверей и
двери багажного отделения.
Систему централизованной блокировки
замков дверей можно активировать со
стороны двери водителя или переднего
пассажира.
Для того чтобы обеспечить правильную
блокировку замков всех дверей,
убедитесь, что все двери полностью
закрыты.
Снаружи систему централизованной
блокировки замков дверей можно
активировать ключом или с пульта
дистанционного управления. Изнутри
систему централизованной блокировки
замков дверей можно активировать
кнопками-рычажками, расположенными
над ручками открывания передних
дверей.
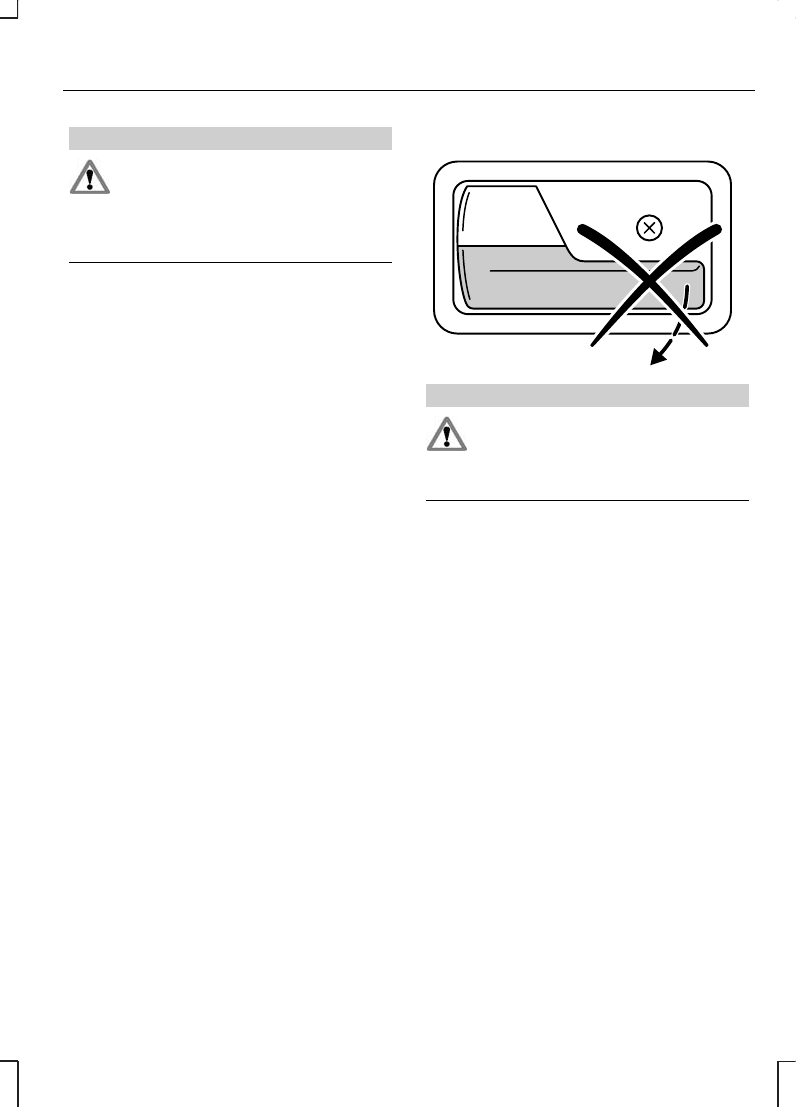
Блокировать замок сдвижной двери
можно отдельно, нажав кнопку с
внутренней стороны двери.
При открывании задней двери ключом
будет разблокирован замок только
задней двери.
Функция двойной блокировки
E74799
ПРЕДУПРЕЖДЕНИЕ
Не следует активировать
функцию двойной блокировки
замков дверей, если в автомобиле
находятся люди.
Функция двойной блокировки замков
дверей - это дополнительная мера
защиты от кражи, предотвращающая
открывание дверей автомобиля
изнутри. Двойная блокировка дверей
возможна, только если закрыты все
двери.
Разблокировка замков
Transit Connect
При разблокировке замка любой двери
указатели поворотов
однократно
мигнут
в подтверждение
разблокировки.
31
Замки
Содержание
- 3 Содержание
- 7 ПРЕДУПРЕЖДЕНИЕ; Введение
- 8 Разблокировка; Быстрый обзор
- 9 однократно; Блокировка; мигнут
- 10 Установка часов
- 11 ветрового стекла
- 12 ДЕТСКИЕ СИДЕНЬЯ; ПРЕДУПРЕЖДЕНИЯ; Безопасность детей
- 18 Tourneo Connect
- 21 ПРИНЦИПЫ РАБОТЫ; Надувные подушки безопасности; Защита людей, находящихся в автомобиле
- 23 при сильных; фронтальных; с отклонением не более 30
- 24 Боковые подушки безопасности; РЕМНИ БЕЗОПАСНОСТИ
- 26 Передний ремень безопасности
- 28 ПРЕДОСТЕРЕЖЕНИЕ; II; Ключи и пульты дистанционного управления
- 30 Передние двери; Сдвижная дверь; Замки
- 31 Распашные задние двери
- 32 Откидная задняя дверь
- 33 Разблокировка замков
- 34 дважды
- 35 Блокировка замков; При помощи ключа
- 37 Кодирование ключей; не более чем за пять; Иммобилайзер двигателя
- 38 Стирание кода ключа
- 40 АКТИВАЦИЯ СИГНАЛИЗАЦИИ; Срабатывание сигнализации; Сигнализация
- 41 Регулировка громкости; VOL−; Рулевое колесо
- 42 Поиск
- 43 Стеклоочистители и стеклоомыватели
- 44 Омыватель
- 46 Дальний/ближний свет фар; Осветительное оборудование
- 47 Все автомобили
- 48 Рекомендуемые положения регулятора:
- 50 УКАЗАТЕЛИ ПОВОРОТА
- 51 ЗАМЕНА ЛАМП; Передние указатели поворота
- 52 Фары; Открывание блока фары
- 53 Противотуманные фары/ фонари
- 55 Плафоны освещения салона; Передний
- 56 Задний
- 57 Окна и зеркала
- 59 Окна и зеркала с
- 62 Автомобили с правым расположением рулевого колеса; Аварийная световая; Вентиляционные дефлекторы
- 64 УКАЗАТЕЛИ
- 65 Часы
- 66 Индикатор указателей поворота
- 68 Индикатор дальнего света фар; Проверка
- 70 Органы управления микроклиматом
- 73 Рециркуляция воздуха; Вентиляция
- 74 Кондиционирование воздуха
- 75 Уменьшение влажности воздуха; Общая информация
- 76 Принцип действия
- 78 Выключение отопителя
- 79 Программируемый режим прогрева
- 80 ON
- 81 ПЕРЕДНИЕ СИДЕНЬЯ; Сиденья
- 83 Регулировка подлокотника
- 85 ПОДГОЛОВНИКИ; Снятие подголовников
- 86 ЗАДНИЕ СИДЕНЬЯ
- 87 Третий ряд
- 88 Второй ряд; СИДЕНЬЯ С ОБОГРЕВОМ
- 89 ЧАСЫ; Вариант 1; Установка текущего времени; Вариант 2; Функции обеспечения комфорта
- 90 ПРИКУРИВАТЕЛЬ; ПЕПЕЛЬНИЦА
- 91 ПЕРЧАТОЧНЫЙ ЯЩИК
- 92 Передняя емкость для вещей
- 93 КАРМАНЫ ДЛЯ КАРТ
- 95 ОБЩАЯ ИНФОРМАЦИЯ; Общие правила пуска двигателя; ВЫКЛЮЧАТЕЛЬ ЗАЖИГАНИЯ; Пуск двигателя
- 96 Холодный/прогретый двигатель
- 97 ВЫКЛЮЧЕНИЕ ДВИГАТЕЛЯ
- 98 МЕРЫ ПРЕДОСТОРОЖНОСТИ; Топливо и заправка
- 99 ПРЕДОСТЕРЕЖЕНИЯ; ПАРКОВКА
- 100 ЗАПРАВКА ТОПЛИВОМ; ТЕХНИЧЕСКИЕ ХАРАКТЕРИСТИКИ; Расход топлива
- 102 Коробка передач
- 103 Дисковые тормозные механизмы; Тормоза
- 104 СТОЯНОЧНЫЙ ТОРМОЗ; Включение стояночного тормоза
- 106 Система помощи при парковке
- 107 Релинги крыши; Перевозка груза
- 109 БУКСИРОВКА ПРИЦЕПА; Крутые спуски и подъемы; Буксировка
- 110 ОБКАТКА; Шины; Двигатель; Советы по вождению
- 111 АПТЕЧКА; Аварийное оборудование
- 112 Состояние после столкновения
- 113 Ремни безопасности
- 114 Плавкие предохранители
- 118 Вспомогательный блок плавких предохранителей; Центральный блок плавких предохранителей
- 119 Эвакуация автомобиля
- 122 Ежедневные проверки; Ежемесячные проверки:; Обслуживание
- 128 Замена моторного масла; Долив моторного масла
- 131 Рабочие жидкости; Показатели вместимости
- 133 Очистка фар; Очистка заднего стекла; Уход за автомобилем
- 134 ОЧИСТКА САЛОНА
- 135 Присоединение проводов; Аккумуляторная батарея автомобиля
- 136 Не; Пуска двигателя
- 137 ЗАМЕНА КОЛЕСА; Запасное колесо; Колеса и шины
- 138 Домкрат; Места установки домкрата
- 139 Снятие колеса
- 141 Установка колеса
- 142 Хранение снятого колеса
- 143 ОБСЛУЖИВАНИЕ ШИН; Давление воздуха в шинах
- 147 НОМЕР ДВИГАТЕЛЯ; Двигатели серии Duratec; Идентификация автомобиля
- 150 Длинная колесная база
- 151 Размеры буксировочного оборудования
- 153 Масса автомобиля
- 156 Типовые разрешения
- 159 Указатель