Автомобили Ford Transit Connect 2002 - инструкция пользователя по применению, эксплуатации и установке на русском языке. Мы надеемся, она поможет вам решить возникшие у вас вопросы при эксплуатации техники.
Если остались вопросы, задайте их в комментариях после инструкции.
"Загружаем инструкцию", означает, что нужно подождать пока файл загрузится и можно будет его читать онлайн. Некоторые инструкции очень большие и время их появления зависит от вашей скорости интернета.

E75575
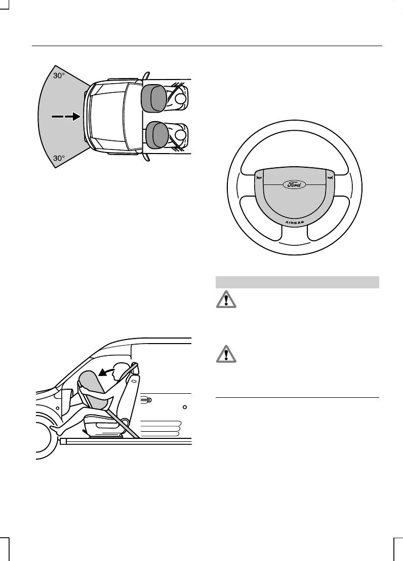
Фронтальные подушки безопасности
срабатывают
при сильных
столкновениях:
или
фронтальных
,
или
с отклонением не более 30
градусов
от продольной оси
автомобиля влево или вправо. При
срабатывании подушки безопасности
наполняются в течение нескольких
тысячных долей секунды. Когда
туловища людей, сидящих на передних
сиденьях, соприкасаются с подушками
безопасности, газ выходит наружу,
смягчая воздействие подушки на тело
человека.
E75576
При незначительных фронтальных
столкновениях, а также при боковых и
задних ударах или опрокидывании
автомобиля система фронтальных
подушек безопасности не срабатывает.
E75577
ПРЕДУПРЕЖДЕНИЯ
Ремонт рулевого колеса, рулевой
колонки и системы подушек
безопасности может выполнять только
специально подготовленный персонал
на сервисной станции.
Пространство перед кожухами
подушек безопасности всегда
должно оставаться свободным. В этих
зонах и над ними не должны
находиться какие-либо предметы.
Поверхности в этих областях можно
протирать только влажной, но ни в коем
случае не мокрой тканью.
21
Защита людей, находящихся в автомобиле
Содержание
- 3 Содержание
- 7 ПРЕДУПРЕЖДЕНИЕ; Введение
- 8 Разблокировка; Быстрый обзор
- 9 однократно; Блокировка; мигнут
- 10 Установка часов
- 11 ветрового стекла
- 12 ДЕТСКИЕ СИДЕНЬЯ; ПРЕДУПРЕЖДЕНИЯ; Безопасность детей
- 18 Tourneo Connect
- 21 ПРИНЦИПЫ РАБОТЫ; Надувные подушки безопасности; Защита людей, находящихся в автомобиле
- 23 при сильных; фронтальных; с отклонением не более 30
- 24 Боковые подушки безопасности; РЕМНИ БЕЗОПАСНОСТИ
- 26 Передний ремень безопасности
- 28 ПРЕДОСТЕРЕЖЕНИЕ; II; Ключи и пульты дистанционного управления
- 30 Передние двери; Сдвижная дверь; Замки
- 31 Распашные задние двери
- 32 Откидная задняя дверь
- 33 Разблокировка замков
- 34 дважды
- 35 Блокировка замков; При помощи ключа
- 37 Кодирование ключей; не более чем за пять; Иммобилайзер двигателя
- 38 Стирание кода ключа
- 40 АКТИВАЦИЯ СИГНАЛИЗАЦИИ; Срабатывание сигнализации; Сигнализация
- 41 Регулировка громкости; VOL−; Рулевое колесо
- 42 Поиск
- 43 Стеклоочистители и стеклоомыватели
- 44 Омыватель
- 46 Дальний/ближний свет фар; Осветительное оборудование
- 47 Все автомобили
- 48 Рекомендуемые положения регулятора:
- 50 УКАЗАТЕЛИ ПОВОРОТА
- 51 ЗАМЕНА ЛАМП; Передние указатели поворота
- 52 Фары; Открывание блока фары
- 53 Противотуманные фары/ фонари
- 55 Плафоны освещения салона; Передний
- 56 Задний
- 57 Окна и зеркала
- 59 Окна и зеркала с
- 62 Автомобили с правым расположением рулевого колеса; Аварийная световая; Вентиляционные дефлекторы
- 64 УКАЗАТЕЛИ
- 65 Часы
- 66 Индикатор указателей поворота
- 68 Индикатор дальнего света фар; Проверка
- 70 Органы управления микроклиматом
- 73 Рециркуляция воздуха; Вентиляция
- 74 Кондиционирование воздуха
- 75 Уменьшение влажности воздуха; Общая информация
- 76 Принцип действия
- 78 Выключение отопителя
- 79 Программируемый режим прогрева
- 80 ON
- 81 ПЕРЕДНИЕ СИДЕНЬЯ; Сиденья
- 83 Регулировка подлокотника
- 85 ПОДГОЛОВНИКИ; Снятие подголовников
- 86 ЗАДНИЕ СИДЕНЬЯ
- 87 Третий ряд
- 88 Второй ряд; СИДЕНЬЯ С ОБОГРЕВОМ
- 89 ЧАСЫ; Вариант 1; Установка текущего времени; Вариант 2; Функции обеспечения комфорта
- 90 ПРИКУРИВАТЕЛЬ; ПЕПЕЛЬНИЦА
- 91 ПЕРЧАТОЧНЫЙ ЯЩИК
- 92 Передняя емкость для вещей
- 93 КАРМАНЫ ДЛЯ КАРТ
- 95 ОБЩАЯ ИНФОРМАЦИЯ; Общие правила пуска двигателя; ВЫКЛЮЧАТЕЛЬ ЗАЖИГАНИЯ; Пуск двигателя
- 96 Холодный/прогретый двигатель
- 97 ВЫКЛЮЧЕНИЕ ДВИГАТЕЛЯ
- 98 МЕРЫ ПРЕДОСТОРОЖНОСТИ; Топливо и заправка
- 99 ПРЕДОСТЕРЕЖЕНИЯ; ПАРКОВКА
- 100 ЗАПРАВКА ТОПЛИВОМ; ТЕХНИЧЕСКИЕ ХАРАКТЕРИСТИКИ; Расход топлива
- 102 Коробка передач
- 103 Дисковые тормозные механизмы; Тормоза
- 104 СТОЯНОЧНЫЙ ТОРМОЗ; Включение стояночного тормоза
- 106 Система помощи при парковке
- 107 Релинги крыши; Перевозка груза
- 109 БУКСИРОВКА ПРИЦЕПА; Крутые спуски и подъемы; Буксировка
- 110 ОБКАТКА; Шины; Двигатель; Советы по вождению
- 111 АПТЕЧКА; Аварийное оборудование
- 112 Состояние после столкновения
- 113 Ремни безопасности
- 114 Плавкие предохранители
- 118 Вспомогательный блок плавких предохранителей; Центральный блок плавких предохранителей
- 119 Эвакуация автомобиля
- 122 Ежедневные проверки; Ежемесячные проверки:; Обслуживание
- 128 Замена моторного масла; Долив моторного масла
- 131 Рабочие жидкости; Показатели вместимости
- 133 Очистка фар; Очистка заднего стекла; Уход за автомобилем
- 134 ОЧИСТКА САЛОНА
- 135 Присоединение проводов; Аккумуляторная батарея автомобиля
- 136 Не; Пуска двигателя
- 137 ЗАМЕНА КОЛЕСА; Запасное колесо; Колеса и шины
- 138 Домкрат; Места установки домкрата
- 139 Снятие колеса
- 141 Установка колеса
- 142 Хранение снятого колеса
- 143 ОБСЛУЖИВАНИЕ ШИН; Давление воздуха в шинах
- 147 НОМЕР ДВИГАТЕЛЯ; Двигатели серии Duratec; Идентификация автомобиля
- 150 Длинная колесная база
- 151 Размеры буксировочного оборудования
- 153 Масса автомобиля
- 156 Типовые разрешения
- 159 Указатель