Автомобили Ford Transit 2013 - инструкция пользователя по применению, эксплуатации и установке на русском языке. Мы надеемся, она поможет вам решить возникшие у вас вопросы при эксплуатации техники.
Если остались вопросы, задайте их в комментариях после инструкции.
"Загружаем инструкцию", означает, что нужно подождать пока файл загрузится и можно будет его читать онлайн. Некоторые инструкции очень большие и время их появления зависит от вашей скорости интернета.

•
Во время работы с комплектом не
выключайте двигатель, за
исключением ситуаций, когда
автомобиль находится в закрытом
или плохо проветриваемом
помещении (например, внутри
здания). В этом случае включайте
компрессор при выключенном
двигателе.
•
Замените емкость с герметиком до
истечения срока годности, который
указан в верхней части бутыли.
•
Сообщите всем людям, которые
пользуются автомобилем, о том, что
шина временно отремонтирована с
помощью ремонтного комплекта, и
проследите за тем, чтобы
соблюдались особые условия
эксплуатации.
Накачивание шины
ПРЕДУПРЕЖДЕНИЯ
Перед началом операции
проверьте состояние боковины
шины. При наличии любых
порезов, вздутий или сходных
повреждений не пытайтесь накачать
шину.
Во время работы компрессора не
стойте рядом с шиной.
Наблюдайте за боковиной шины.
Если появятся любые трещины,
вздутия или сходные
повреждения, выключите компрессор
и выпустите воздух при помощи
клапана сброса давления
B
. Не
эксплуатируйте эту шину.
Герметик содержит натуральный
латекс. Избегайте контакта с
кожей и попадания на одежду.
При контакте с жидкостью немедленно
промойте пораженные участки
обильным количеством воды и
обратитесь к врачу.
ПРЕДУПРЕЖДЕНИЯ
Если давление в шине не
достигло 1,8 бар (26 пси) за семь
минут, возможно, шина сильно
повреждена, и временный ремонт
невозможен. В таком случае не
продолжайте поездки, не заменив эту
шину.
ПРЕДОСТЕРЕЖЕНИЕ
При установке бутыли на
держатель происходит прокол
пломбы. Не снимайте бутыль с
держателя, поскольку это приведет к
вытеканию герметика.
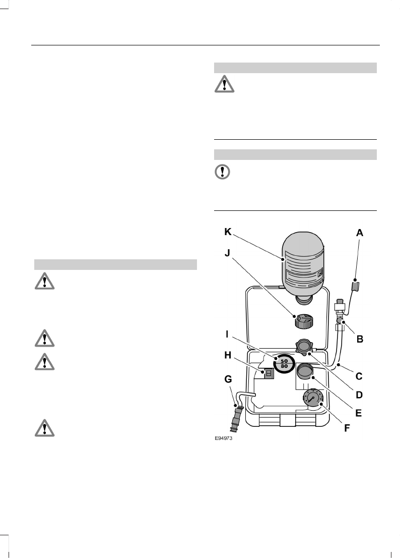
Предохранительная крышка
A
Предохранительный клапан
B
Шланг
C
185
Transit (TT9) Vehicles Built From: 26-09-2011, Vehicles Built Up To: 31-12-2013
Колеса и шины
