Автомобили Ford Galaxy 2014 - инструкция пользователя по применению, эксплуатации и установке на русском языке. Мы надеемся, она поможет вам решить возникшие у вас вопросы при эксплуатации техники.
Если остались вопросы, задайте их в комментариях после инструкции.
"Загружаем инструкцию", означает, что нужно подождать пока файл загрузится и можно будет его читать онлайн. Некоторые инструкции очень большие и время их появления зависит от вашей скорости интернета.

ПРЕДУПРЕЖДЕНИЯ
Наблюдайте за боковиной шины.
Если появятся любые трещины,
вздутия или сходные
повреждения, выключите компрессор
и выпустите воздух при помощи
клапана сброса давления
B
. Не
эксплуатируйте эту шину.
Герметик содержит натуральный
латекс. Избегайте контакта с
кожей и попадания на одежду.
При контакте с жидкостью немедленно
промойте пораженные участки
обильным количеством воды и
обратитесь к врачу.
Если давление в шине не
достигло 1,8 бар (26 пси) за семь
минут, возможно, шина сильно
повреждена, и временный ремонт
невозможен. В таком случае не
продолжайте поездки, не заменив эту
шину.
ПРЕДОСТЕРЕЖЕНИЕ
При установке бутыли на
держатель происходит прокол
пломбы. Не снимайте бутыль с
держателя, поскольку это приведет к
вытеканию герметика.
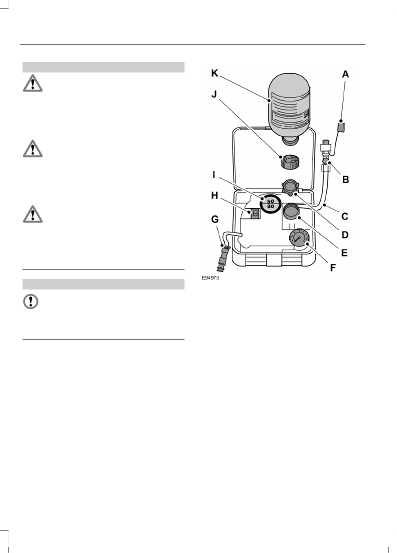
Предохранительная крышка
A
Предохранительный клапан
B
Шланг
C
Оранжевая крышка
D
Держатель бутылок
E
Манометр
F
Провод с электрическим
разъемом
G
Переключатель компрессора
H
Ярлык
I
Крышка бутыли
J
Бутыль с герметиком
K
1.
Откройте крышку комплекта для
ремонта шин.
294
Galaxy/S-MAX (CA1) Vehicles Built From: 25-11-2013, Vehicles Built Up To: 18-12-2014, CG3533ruRUS ruRUS, Edition date: 11/2013, Second Printing
Колеса и шины
