Автомобили Ford Focus 2014 - инструкция пользователя по применению, эксплуатации и установке на русском языке. Мы надеемся, она поможет вам решить возникшие у вас вопросы при эксплуатации техники.
Если остались вопросы, задайте их в комментариях после инструкции.
"Загружаем инструкцию", означает, что нужно подождать пока файл загрузится и можно будет его читать онлайн. Некоторые инструкции очень большие и время их появления зависит от вашей скорости интернета.

ПРЕДУПРЕЖДЕНИЯ
Наблюдайте за боковиной шины.
Если появятся любые трещины,
вздутия или сходные
повреждения, выключите компрессор
и выпустите воздух при помощи
клапана сброса давления В. Не
эксплуатируйте эту шину.
Герметик содержит натуральный
латекс. Избегайте контакта с
кожей и попадания на одежду.
Если это произошло, немедленно
промойте пораженные участки
обильным количеством воды. При
появлении побочных реакций
немедленно обратитесь за
консультацией к врачу.
Если давление в шине не
достигло 1,8 бар (26 пси) за 10
минут, возможно, шина сильно
повреждена, и временный ремонт
невозможен. В таком случае не
продолжайте поездки, не заменив эту
шину.
При установке бутыли на
держатель происходит прокол
пломбы. Не снимайте бутыль с
держателя, поскольку это приведет к
вытеканию герметика.
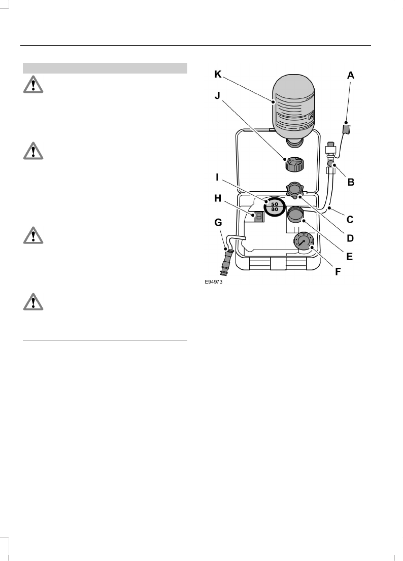
Предохранительная крышка
A
Предохранительный клапан
B
Шланг
С
Оранжевая крышка
D
Держатель бутылок
E
Манометр
F
Провод с электрическим
разъемом
G
Переключатель компрессора
H
Ярлык
I
Крышка бутыли
J
Бутыль с герметиком
K
1.
Откройте крышку комплекта для
ремонта шин.
256
Focus (CB8) Vehicles Built From: 03-03-2014, Vehicles Built Up To: 31-12-2014, CG3568ruRUS ruRUS, Edition date: 03/2014, None
Колеса и шины
Содержание
- 3 Содержание
- 5 Использование системы
- 11 О ДАННОМ РУКОВОДСТВЕ; ПРЕДУПРЕЖДЕНИЕ; Защита окружающей среды; Введение
- 12 СЛОВАРЬ СИМВОЛОВ
- 15 Обзор передней наружной части автомобиля; Быстрый обзор
- 16 Обзор салона автомобиля
- 17 Панель управления
- 18 Подрулевой переключатель очистителей и омывателей стекол. См.
- 20 Обзор задней наружной части автомобиля
- 22 ДЕТСКИЕ СИДЕНЬЯ; ПРЕДУПРЕЖДЕНИЯ; Безопасность детей
- 29 ПРИНЦИПЫ РАБОТЫ; Защита людей, находящихся в автомобиле
- 30 Боковые подушки безопасности; РЕМНИ БЕЗОПАСНОСТИ
- 35 Ключи и пульты дистанционного управления
- 38 ПРЕДОСТЕРЕЖЕНИЕ; Запирание; Блокирование с помощью ключа; Двойное запирание; Отпирание; Разблокирование с помощью ключа; Замки
- 39 Крышка багажного отделения
- 40 Общие сведения
- 41 Пассивный ключ; Блокировка и разблокировка замков; Блокировка замков
- 42 Разблокировка замков; Откройте любую дверь.
- 43 Деактивированные ключи; Аккуратно снимите крышку.
- 44 Предохранительная; Защита кромки двери
- 45 Система сигнализации; Датчики контроля салона; Сигнализация
- 46 Информационные сообщения
- 48 Рулевое колесо
- 49 Поиск, далее или назад; ГОЛОСОВОЕ УПРАВЛЕНИЕ; SYNCTM
- 50 Стеклоочистители и стеклоомыватели
- 52 Омыватель заднего окна
- 53 ОМЫВАТЕЛИ ФАР; Для предотвращения
- 55 ОБЩАЯ ИНФОРМАЦИЯ; Конденсат в блоке фонарей; Лужица воды внутри лампы.; Стояночные фонари; Осветительное оборудование
- 56 Дальний и ближний свет фар
- 58 Включение системы; Информационные дисплеи
- 60 Рекомендуемые положения наклона световых пучков фар; Максимальная
- 61 ВИРАЖНЫЕ ФАРЫ; Свет фар; УКАЗАТЕЛИ ПОВОРОТА
- 62 Слегка нажмите на рычаг; Внутреннее освещение; Лампы можно включать
- 63 Если нажать переключатель; ОБЩЕЕ ОСВЕЩЕНИЕ; Включение освещения
- 64 РЕГУЛИРОВКА ФАР; СНЯТИЕ ФАРЫ
- 65 ЗАМЕНА ЛАМП; Фара головного света
- 67 Боковой повторитель; Лампа подсветки входа
- 69 Снимите панель отделки.
- 71 отсоедините 2 зажима.; Центральный стоп-сигнал; Это необслуживаемые; Плафоны освещения салона; Светодиодная панель не
- 72 ТАБЛИЦА ТЕХНИЧЕСКИХ ХАРАКТЕРИСТИК ЛАМП
- 73 Задний противотуманный фонарь
- 74 Окна и зеркала
- 76 Общее открывание
- 77 Нажмите и удерживайте кнопку; Общее закрывание
- 78 Наклон зеркального элемента; Окна и зеркала с
- 80 Оба индикатора
- 81 Ошибки обнаружения; Индикатор, встроенный в
- 83 УКАЗАТЕЛИ; Щиток приборов
- 85 Указатель температуры масла
- 86 Проверка моторного масла; Указатель запаса топлива в баке; Надувные подушки безопасности; тормозов
- 87 Указатель поворота; Замена ламп
- 89 Индикатор системы Start-Stop; Использование цикла
- 92 Информационный; Список устройств; Некоторые пункты меню
- 98 МАРШРУТНЫЙ КОМПЬЮТЕР; OK
- 99 Температура наружного воздуха.; Отключение звуковых сигналов; Предупреждающие сообщения.; Сигнализатор сообщений
- 100 Active City Stop; желтый
- 101 Автоматическое управление дальним светом; Аккумуляторная батарея и система зарядки.; красный
- 103 Круиз-контроль и система адаптивного круиз-контроля; Система адаптивного круиз-контроля; Двери открыты; вание и закрывание капота
- 104 Предупреждение водителя; Иммобилайзер двигателя; Система помощи при трогании на подъеме
- 105 Дистанционное отпирание автомобиля; Система помощи для удержания полосы движения
- 106 Освещение
- 107 Обслуживание; Проверка омывающей жидкости
- 108 Стояночный тормоз
- 109 Рулевой привод с усилителем; Система поддержания устойчивости; Общая информация
- 110 Запуск двигателя
- 111 Система запуска/остановки двигателя; Использование; Коробка передач
- 113 Система мониторинга давления в шинах
- 114 Поступление наружного воздуха; Отопление; Система; Органы управления микроклиматом
- 115 Боковой воздушный дефлектор; В сторону лица
- 116 Вентилятор; При выключенном; Рециркуляция воздуха
- 119 Контроль температуры; При выборе любого из; Режим «моно»
- 120 Обогреваемые стекла; Обогреваемое ветровое стекло
- 124 Наклон крышки люка; В случае полного
- 127 ПОДГОЛОВНИКИ; Сиденья
- 128 Снятие подголовников; Передние подголовники
- 132 ЗАДНИЕ СИДЕНЬЯ
- 133 Раскладывание спинок сидений; СИДЕНЬЯ С ОБОГРЕВОМ; аккумуляторной батареи.
- 135 Если аккумуляторная; ЧАСЫ; ПРИКУРИВАТЕЛЬ; ПРЕДОСТЕРЕЖЕНИЯ; Функции обеспечения комфорта
- 136 Розетку также можно; ПОДСТАВКИ ДЛЯ СТАКАНОВ; Подлокотник заднего сиденья; ПОДСТАКАННИК
- 137 ГНЕЗДО АУДИОВХОДА; Дополнительное гнездо входа; Регулировка держателя; Установите держатель в желаемое
- 138 Общие правила пуска двигателя; Не оставляйте ключ; ПУСК БЕЗ ПОМОЩИ КЛЮЧА; Запуск и остановка двигателя
- 139 Включение зажигания; Нажмите педаль тормоза до упора.; Пуск дизельного двигателя; Разряд батареи пассивного ключа.
- 143 двигатель; Для всех автомобилей
- 144 ФИЛЬТР ТВЕРДЫХ ЧАСТИЦ; Регенерация
- 145 ВЫКЛЮЧЕНИЕ ДВИГАТЕЛЯ
- 147 Процедура остановки двигателя; Рычаг переключения
- 148 Эффективность; Сброс режима Eco; Для расчета новых; Экономичный режим ЕСО
- 149 КАЧЕСТВО ТОПЛИВА - E85; Топливо и заправка
- 150 Длительное хранение
- 153 Заливка топлива из канистры
- 154 ТЕХНИЧЕСКИЕ ХАРАКТЕРИСТИКИ; Расход топлива
- 156 Положения селектора передач; Задний ход
- 157 Sport
- 160 В зависимости от; СТОЯНОЧНЫЙ ТОРМОЗ; Тормоза
- 162 Система динамической стабилизации
- 163 Включение спортивного режима; Система поддержания; Выключение системы
- 164 Активация системы; вмешиваться в ее работу.
- 165 Дезактивация системы; одно
- 166 Системы помощи при парковке
- 170 КАМЕРА ЗАДНЕГО ВИДА; Активация камеры заднего вида; Камера заднего обзора
- 171 Использование дисплея
- 173 Активная система помощи при парковке
- 176 Управление скоростью
- 180 Нажмите на клавишу
- 181 Установка дистанции
- 182 Временное отключение системы; Нажмите переключатель
- 185 Задание предельной скорости; Нажмите кнопку; Ограничитель скорости
- 188 Дисплей системы
- 189 Предупреждение об уходе с полосы
- 190 Настройка вибрации руля; Общая
- 191 Полоса движения слишком узкая.
- 192 Система контроля за соблюдением дорожной разметки
- 197 Принцип работы; Системы помощи водителю
- 199 ТОЧКИ КРЕПЛЕНИЯ БАГАЖА; Сетка для крепления багажа; Перевозка груза
- 200 Багажная сетка; С удерживающими петлями
- 201 Универсал
- 202 Установка поперечин
- 206 При буксировке прицепа:; Буксировка
- 207 Освещение прицепа
- 208 Закрепление буксирного крюка
- 209 Снятие буксирного крюка
- 210 Уход
- 213 Отведите буксирную балку до упора; Возможные неисправности
- 214 ОБКАТКА; Шины; Тормозная система и сцепление; Двигатель; Преодоление водной преграды; Советы по вождению
- 215 НАПОЛЬНЫЕ КОВРИКИ
- 216 АПТЕЧКА; Выключатель зажигания; Поверните ключ зажигания в; Запуск без ключа; Перед повторным; Аварийные принадлежности
- 217 Блок предохранителей в салоне; Опустите крышку блока; Плавкие предохранители
- 218 ТАБЛИЦА ХАРАКТЕРИСТИК ПЛАВКИХ ПРЕДОХРАНИТЕЛЕЙ; Блок предохранителей в моторном отсеке
- 221 Адаптивная система круиз-контроля
- 222 Питание топливного насоса
- 224 Заземление насоса стеклоомывателя; Блок предохранителей в грузовом отсеке
- 227 Не используется
- 228 Установка буксирной петли; Вворачивайте петлю; Эвакуация автомобиля
- 230 Ежедневные проверки
- 231 Открывание капота; Сдвиньте желтую защелку вправо.; Закрывание капота
- 232 ОБЩИЙ ВИД МОТОРНОГО ОТСЕКА - 1.0L ECOBOOSTTM; Крышка маслозаливной горловины
- 235 ОБЩИЙ ВИД МОТОРНОГО ОТСЕКА - 1.6L ECOBOOSTTM; Проверка уровня тормозной жидкости и рабочей жидкости
- 236 ОБЩИЙ ВИД МОТОРНОГО ОТСЕКА - 2.0L ECOBOOSTTM
- 244 Расход масла у новых; Проверка уровня масла; Проверяйте уровень; Доливка; Снимите крышку наливной горловины.
- 245 отверните крышку. По мере
- 246 Рабочие жидкости
- 247 Показатели вместимости
- 249 Система охлаждения
- 250 Очистка фар; Очистка заднего стекла; Очистка легкосплавных дисков; Не используйте; Уход за автомобилем
- 251 ОЧИСТКА САЛОНА
- 252 Задние окна
- 253 Присоединение проводов; Остановите двигатель и отключите; Аккумуляторная батарея автомобиля
- 254 Пуск двигателя; В этом случае настройки
- 256 Колеса и шины
- 257 Использование комплекта; Накачивание шины
- 260 Проверка давления в шинах; Установите комплект и проверьте
- 261 ОБСЛУЖИВАНИЕ ШИН; используете подходящие гайки.
- 263 Система будет; Перезагрузка системы; Запрещается; ЗАМЕНА КОЛЕСА
- 266 Поддомкрачивание автомобиля
- 268 Сборка монтажного ключа
- 269 Снятие колеса
- 270 Отверните гайки крепления колеса; Установка колеса
- 271 Момент затяжки колёсных гаек
- 273 Давление в шинах при частом движении со скоростью более 160 км/ч
- 276 Идентификация автомобиля
- 278 Габариты автомобиля; Заправочные объемы и технические характеристики
- 279 Колесная база
- 280 Размеры буксировочного оборудования
- 283 Навигационная система
- 284 Настройка маршрута
- 285 Структура меню; Информационные
- 287 NAV
- 288 Динамически
- 289 Информация; Нажмите кнопку NAV и выберите одну из следующих опций.
- 290 Если вы переходите к
- 292 Одобрения типа; SD Logo является торговой маркой.
- 294 Дисплеи аудиоблоков; Звуковой компакт-диск
- 295 Краткое описание аудиоблока
- 303 ЗАЩИТНЫЙ КОД; Функции безопасности
- 304 Поиск станций; Нажмите на кнопку MENU.; Использование аудиосистемы
- 305 Настройка со сканированием
- 307 Если вы нажмете на
- 308 Использование системы DSP; ВЫПУСКИ НОВОСТЕЙ; Меню аудиоблока
- 310 В режиме; ВЫБОР ДОРОЖКИ; или отключить функцию.; Проигрыватель компакт-дисков
- 314 Для оптимального
- 315 Устранение неполадок в работе аудиосистемы
- 316 Выполнять и принимать вызовы.; Поддержка
- 317 Информация по безопасности
- 318 Полезные советы
- 319 Отменить запрошенное действие.; голосовые настройки
- 321 Нажмите на кнопку; ответ на входящие звонки
- 324 Чтобы выйти из режима набора номера, нажмите и удерживайте кнопку
- 325 Звонок; исправить
- 326 Принятие вызовов; ОК; Тихо
- 328 Данная функция зависит
- 329 Отправлять, загружать и удалять текстовые сообщения.; CMC
- 330 Отправление текстового сообщения
- 334 ющее установить связь, выполните поиск
- 335 MENU
- 336 Установить
- 338 В случае аварии; Не каждая авария
- 340 SYNC AppLink; Чтобы получить доступ к
- 343 Обновление не требуется.
- 345 Если применяемый; AUX
- 346 Просмотр USB; Затем любую из следующих фраз:; пауза
- 347 выключить повтор
- 349 Справочник по голосовым командам
- 350 Функции меню Media
- 351 Повтор песни; Доступ к USB библиотеке
- 359 вание функции распознавания речи
- 360 можно выбрать
- 363 Приложения
- 364 После установки любых
- 369 вы осознаете свою
- 379 УСЛОВИЯ И ПОЛОЖЕНИЯ
- 383 Авторское право Gracenote®
- 385 ОДОБРЕНИЯ ТИПА
- 386 Лазерный датчик; Макс. средняя мощность
- 387 Декларация соответствия ЕС
- 389 Указатель
