Автомобили Ford Focus 2013 - инструкция пользователя по применению, эксплуатации и установке на русском языке. Мы надеемся, она поможет вам решить возникшие у вас вопросы при эксплуатации техники.
Если остались вопросы, задайте их в комментариях после инструкции.
"Загружаем инструкцию", означает, что нужно подождать пока файл загрузится и можно будет его читать онлайн. Некоторые инструкции очень большие и время их появления зависит от вашей скорости интернета.

•
Замените емкость с герметиком до
истечения срока годности, который
указан в верхней части баллона.
•
Сообщите всем, кто пользуется
автомобилем, что колесо было
временно отремонтировано при
помощи комплекта.
Проинструктируйте их относительно
особых условий, которые
необходимо соблюдать при
вождении.
Накачивание шины
ПРЕДУПРЕЖДЕНИЯ
Перед началом операции
проверьте состояние боковины
шины. При наличии любых
порезов, вздутий или сходных
повреждений не пытайтесь накачать
шину.
Во время работы компрессора не
стойте рядом с шиной.
Наблюдайте за боковиной шины.
Если появятся любые трещины,
вздутия или сходные
повреждения, выключите компрессор
и выпустите воздух при помощи
клапана сброса давления В. Не
эксплуатируйте эту шину.
Герметик содержит натуральный
латекс. Избегайте контакта с
кожей и попадания на одежду.
Если это произошло, немедленно
промойте пораженные участки
обильным количеством воды. При
появлении побочных реакций
немедленно обратитесь за
консультацией к врачу.
Если давление в шине не
достигло 1,8 бар (26 пси) за 10
минут, возможно, шина сильно
повреждена, и временный ремонт
невозможен. В таком случае не
продолжайте поездки, не заменив эту
шину.
ПРЕДУПРЕЖДЕНИЯ
При установке бутыли на
держатель происходит прокол
пломбы. Не снимайте бутыль с
держателя, поскольку это приведет к
вытеканию герметика.
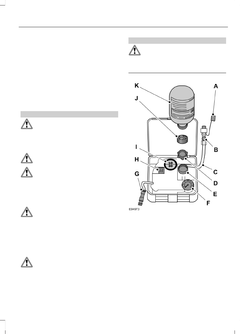
Предохранительная крышка
A
Предохранительный клапан
B
Шланг
С
Оранжевая крышка
D
Держатель бутылок
E
Манометр
F
Провод с электрическим
разъемом
G
Переключатель компрессора
H
Ярлык
I
263
Focus (CB8) Vehicles Built From: 26-08-2013, Vehicles Built Up To: 31-12-2013
Колеса и шины
Содержание
- 3 Содержание
- 11 О ДАННОМ РУКОВОДСТВЕ; ПРЕДУПРЕЖДЕНИЕ; Защита окружающей среды; Введение
- 12 СЛОВАРЬ СИМВОЛОВ
- 15 Обзор передней наружной части автомобиля; Быстрый обзор
- 16 Обзор салона автомобиля
- 17 Панель управления
- 18 Подрулевой переключатель очистителей и омывателей стекол. См.
- 20 Обзор задней наружной части автомобиля
- 22 ДЕТСКИЕ СИДЕНЬЯ; ПРЕДУПРЕЖДЕНИЯ; Безопасность детей
- 29 ПРИНЦИПЫ РАБОТЫ; Защита людей, находящихся в автомобиле
- 30 Боковые подушки безопасности; РЕМНИ БЕЗОПАСНОСТИ
- 35 Ключи и пульты дистанционного управления
- 38 ПРЕДОСТЕРЕЖЕНИЕ; Запирание; Блокирование с помощью ключа; Двойное запирание; Отпирание; Разблокирование с помощью ключа; Замки
- 39 Крышка багажного отделения
- 40 Общие сведения
- 41 Пассивный ключ; Блокировка и разблокировка замков; Блокировка замков
- 42 Разблокировка замков; Откройте любую дверь.
- 43 Деактивированные ключи; Аккуратно снимите крышку.; Полное открывание
- 44 unlock; Полное закрывание
- 45 Предохранительная; Защита кромки двери
- 46 Не допускайте; Иммобилайзер двигателя
- 47 Система сигнализации; Датчики контроля салона; Сигнализация
- 48 Информационные сообщения
- 50 Рулевое колесо
- 51 Поиск, далее или назад; ГОЛОСОВОЕ УПРАВЛЕНИЕ; SYNCTM
- 52 Стеклоочистители и стеклоомыватели
- 54 Омыватель заднего окна
- 55 ОМЫВАТЕЛИ ФАР; Для предотвращения
- 57 ОБЩАЯ ИНФОРМАЦИЯ; Конденсат в блоке фонарей; Лужица воды внутри лампы.; Стояночные фонари; Осветительное оборудование
- 58 Дальний и ближний свет фар
- 60 Включение системы; Информационные дисплеи
- 63 Рекомендуемые положения наклона световых пучков фар; Максимальная; УКАЗАТЕЛИ ПОВОРОТА; Слегка нажмите на рычаг
- 64 ВИРАЖНЫЕ ФАРЫ; Свет фар; Внутреннее освещение; Лампы можно включать
- 66 ОБЩЕЕ ОСВЕЩЕНИЕ; Лампы освещения; СНЯТИЕ ФАРЫ
- 67 Приподнимите фару за внешнюю; ЗАМЕНА ЛАМП; Фара головного света
- 69 Боковой повторитель
- 70 Лампа подсветки входа
- 72 Снимите панель отделки.
- 73 Центральный стоп-сигнал; Это необслуживаемые
- 74 Плафоны освещения салона; Светодиодная панель не; ТАБЛИЦА ТЕХНИЧЕСКИХ ХАРАКТЕРИСТИК ЛАМП; Дальний свет фар
- 76 Окна и зеркала
- 79 Наклон зеркального элемента; Окна и зеркала с
- 80 Использование системы
- 82 Ошибки обнаружения; Индикатор, встроенный в
- 84 УКАЗАТЕЛИ; Щиток приборов
- 86 Указатель температуры масла
- 87 Проверка моторного масла; Указатель запаса топлива в баке; Надувные подушки безопасности; Индикатор системы
- 88 Указатели поворота; Замена ламп
- 91 Ключ снаружи автомобиля; Система определения
- 92 Информационный; Список устройств; Некоторые пункты меню
- 98 МАРШРУТНЫЙ КОМПЬЮТЕР; OK
- 99 Температура наружного воздуха.; Отключение звуковых сигналов; Предупреждающие сообщения.; Сигнализатор сообщений
- 100 Active City Stop; Использование Active City Stop; желтый
- 101 Автоматическое управление дальним светом; Аккумуляторная батарея и система зарядки.; красный
- 103 Круиз-контроль и система адаптивного круиз-контроля; Система адаптивного круиз-контроля; Двери открыты; вание и закрывание капота
- 104 Предупреждение водителя; Система помощи при трогании на подъеме
- 105 Дистанционное отпирание автомобиля; Система помощи для удержания полосы движения
- 106 Освещение
- 107 Обслуживание; Проверка омывающей жидкости
- 108 Стояночный тормоз
- 109 Рулевой привод с усилителем; Система поддержания устойчивости; Общая информация
- 110 Запуск двигателя
- 111 Система запуска/остановки двигателя; Использование; Коробка передач
- 113 Система мониторинга давления в шинах
- 114 Поступление наружного воздуха; Отопление; Система; Органы управления микроклиматом
- 115 Боковой воздушный дефлектор; В сторону лица
- 116 Вентилятор; При выключенном; Рециркуляция воздуха
- 119 Контроль температуры; При выборе любого из; Режим «моно»
- 121 Наклон крышки люка; В случае полного
- 127 Сиденья
- 128 ПОДГОЛОВНИКИ
- 129 Снятие подголовников; Передние подголовники
- 132 ЗАДНИЕ СИДЕНЬЯ
- 133 Раскладывание спинок сидений; СИДЕНЬЯ С ОБОГРЕВОМ; аккумуляторной батареи.
- 135 Если аккумуляторная; ЧАСЫ; ПРИКУРИВАТЕЛЬ; ПРЕДОСТЕРЕЖЕНИЯ; Функции обеспечения комфорта
- 136 Розетку также можно; ПОДСТАВКИ ДЛЯ СТАКАНОВ; Подлокотник заднего сиденья; ПОДСТАКАННИК
- 137 ДОПОЛНИТЕЛЬНЫЙ РАЗЪЕМ; Дополнительное гнездо входа; Регулировка держателя; Установите держатель в желаемое
- 139 Общие правила пуска двигателя; Не оставляйте ключ; Запуск и остановка двигателя
- 143 ПУСК БЕЗ ПОМОЩИ КЛЮЧА; Включение зажигания; Нажмите педаль тормоза до упора.; Пуск дизельного двигателя
- 145 ФИЛЬТР ТВЕРДЫХ ЧАСТИЦ; Регенерация
- 146 ВЫКЛЮЧЕНИЕ ДВИГАТЕЛЯ
- 148 Процедура остановки двигателя; Рычаг переключения
- 149 Эффективность; Сброс режима Eco; Для расчета новых; Экономичный режим ЕСО
- 150 КАЧЕСТВО ТОПЛИВА - E85; Топливо и заправка
- 151 Длительное хранение
- 154 Для того чтобы извлечь; Заливка топлива из канистры; ЗАПРАВКА ТОПЛИВОМ; ЗАПРАВКА ТОПЛИВОМ - E85; РАСХОД ТОПЛИВА
- 155 ТЕХНИЧЕСКИЕ ХАРАКТЕРИСТИКИ; Расход топлива
- 157 Положения селектора передач; Задний ход
- 158 Sport
- 161 В зависимости от; СТОЯНОЧНЫЙ ТОРМОЗ; Тормоза
- 163 Система динамической стабилизации
- 164 Включение спортивного режима; Система поддержания; Выключение системы
- 165 Активация системы; вмешиваться в ее работу.
- 166 Дезактивация системы; одно
- 167 Системы помощи при парковке
- 171 КАМЕРА ЗАДНЕГО ВИДА; Активация камеры заднего вида; Камера заднего обзора
- 172 Использование дисплея
- 174 Активная система помощи при парковке
- 177 Управление скоростью
- 181 Нажмите на клавишу
- 182 Установка дистанции
- 183 Временное отключение системы; Нажмите переключатель
- 186 Задание предельной скорости; Нажмите кнопку; Ограничитель скорости
- 189 Дисплей системы
- 190 Предупреждение об уходе с полосы
- 191 Настройка вибрации руля; Общая
- 192 Полоса движения слишком узкая.
- 193 Система контроля за соблюдением дорожной разметки
- 198 Принцип работы; Системы помощи водителю
- 200 ТОЧКИ КРЕПЛЕНИЯ БАГАЖА; Перевозка груза
- 202 Багажная сетка; С удерживающими петлями
- 204 Релинги крыши
- 205 Установка поперечин
- 207 БУКСИРОВКА ПРИЦЕПА; При буксировке прицепа:; Идентификация автомобиля; Буксировка
- 208 Освещение прицепа
- 211 Отведите буксирную балку до упора; Возможные неисправности
- 213 Закрепление буксирного крюка
- 214 Снятие буксирного крюка; Снимите буксирный крюк.; Уход
- 216 ОБКАТКА; Шины; Тормозная система и сцепление; Двигатель; Преодоление водной преграды; Советы по вождению
- 217 НАПОЛЬНЫЕ КОВРИКИ
- 218 АПТЕЧКА; Аварийные принадлежности
- 219 Блок предохранителей в салоне; Опустите крышку блока; Плавкие предохранители
- 221 ТАБЛИЦА ХАРАКТЕРИСТИК ПЛАВКИХ ПРЕДОХРАНИТЕЛЕЙ; Блок предохранителей в моторном отсеке
- 224 Питание топливного насоса
- 226 Заземление насоса стеклоомывателя; Блок предохранителей в грузовом отсеке
- 229 Не используется
- 230 Установка буксирной петли; Вворачивайте петлю; Эвакуация автомобиля
- 231 Для всех автомобилей
- 232 Ежедневные проверки
- 233 Открывание капота; Сдвиньте желтую защелку вправо.; Закрывание капота
- 234 ОБЩИЙ ВИД МОТОРНОГО ОТСЕКА - 1.0L ECOBOOSTTM; Крышка маслозаливной горловины
- 246 Расход масла у новых; Проверка уровня масла; Проверяйте уровень; Доливка; Снимите крышку наливной горловины.
- 247 отверните крышку. По мере
- 248 Рабочие жидкости
- 250 Показатели вместимости
- 251 Система охлаждения
- 252 Очистка фар; Очистка заднего стекла; Очистка легкосплавных дисков; Не используйте; Уход за автомобилем
- 253 ОЧИСТКА САЛОНА
- 254 Задние окна
- 255 Присоединение проводов; Остановите двигатель и отключите; Аккумуляторная батарея автомобиля
- 256 Пуск двигателя; В этом случае настройки
- 258 ЗАМЕНА КОЛЕСА; Колеса и шины
- 259 Домкрат
- 261 Сборка монтажного ключа; Демонтаж колеса
- 262 Установка колеса
- 264 Использование комплекта
- 265 Накачивание шины
- 267 Проверка давления в шинах; Установите комплект и проверьте
- 268 ОБСЛУЖИВАНИЕ ШИН; используете подходящие гайки.
- 270 Система будет; Перезагрузка системы; Запрещается; Все
- 272 Давление в шинах при частом движении со скоростью более 160 км/ч
- 278 Габариты автомобиля; Универсал; Заправочные объемы и технические характеристики
- 279 Колесная база
- 283 Дисплеи аудиоблоков; Звуковой компакт-диск
- 284 Краткое описание аудиоблока
- 292 ЗАЩИТНЫЙ КОД; Функции безопасности
- 293 Поиск станций; Нажмите на кнопку MENU.; Использование аудиосистемы
- 294 Настройка со сканированием
- 296 Если вы нажмете на
- 297 Использование системы DSP; ВЫПУСКИ НОВОСТЕЙ; Меню аудиоблока
- 299 В режиме; ВЫБОР ДОРОЖКИ; или отключить функцию.; Проигрыватель компакт-дисков
- 303 Для оптимального
- 304 Устранение неполадок в работе аудиосистемы
- 305 Навигационная система
- 306 Настройка маршрута; NAV
- 307 Структура меню; Информационные
- 310 Информация; Нажмите кнопку NAV и выберите одну из следующих опций.; Ввод цели
- 311 Просмотрите список сохраненных избранных целей.; Настройте параметры маршрута.
- 312 Если вы переходите к
- 314 Одобрения типа; SD Logo является торговой маркой.
- 315 Выполнять и принимать вызовы.; Поддержка
- 316 Информация по безопасности
- 317 Полезные советы
- 319 была подана команда «Телефон».; Confirmation prompts off
- 320 MENU
- 322 Голосовые команды мобильного телефона; Menu
- 323 «Плюс»
- 324 «Имя телефона»; Звонок; Принятие вызовов; ОК
- 327 CMC; Данная функция зависит
- 328 Отправление текстового сообщения
- 331 Добавить
- 335 В случае аварии; Не каждая авария
- 337 Если применяемый
- 339 AUX
- 340 Функции меню Media
- 341 Доступ к USB библиотеке
- 345 PHONE
- 348 вание функции распознавания речи
- 349 можно выбрать
- 352 ОДОБРЕНИЯ ТИПА; Лазерный датчик; Приложения
- 353 Макс. средняя мощность; Декларация соответствия ЕС
- 355 После установки любых; Лицензионное соглашение
- 358 вы соглашаетесь с тем, что
- 365 Информация об учетной записи
- 367 Ограничение ответственности
- 377 Указатель
