Автомобили Fiat SEDICI 2012 - инструкция пользователя по применению, эксплуатации и установке на русском языке. Мы надеемся, она поможет вам решить возникшие у вас вопросы при эксплуатации техники.
Если остались вопросы, задайте их в комментариях после инструкции.
"Загружаем инструкцию", означает, что нужно подождать пока файл загрузится и можно будет его читать онлайн. Некоторые инструкции очень большие и время их появления зависит от вашей скорости интернета.

195
1
2
3
4
5
6
7
8
9
10
11
12
13
14
Доливка масла и проверка на
отсутствие утечек
Долейте
масло
через
заливное
отверстие и установите крышку.
Чтобы узнать заправочный объем
масла,
обратитесь
к
разделу
«Заправочные объемы» в части
«ТЕХНИЧЕСКИЕ ХАРАКТЕРИСТИКИ».
Запустите двигатель и внимательно
проверьте, не подтекают ли масляный
фильтр и пробка сливного отверстия.
Дайте
двигателю
поработать
с
различной
частотой
вращения
коленчатого вала в течение по
крайней мере 5 мин.
Остановите двигатель и выждите
5
мин. Еще раз проверьте уровень
масла и при необходимости доведите
его до нормы. Еще раз проверьте, нет
ли утечек.
ВАЖНО
При
замене
рекомендуется
использовать оригинальный фильтр
Fiat.
Если
используется
фильтр
другого производителя, проверьте,
чтобы он был соответствующего
качества, и следуйте инструкциям
производителя.
Подтекание масла вокруг масляного
фильтра
или
пробки
сливного
отверстия указывает на неправильную
установку
или
повреждение
прокладки.
При
обнаружении
подтекания или если существует
подозрение, что фильтр затянут
недостаточно плотно, необходимо
обратиться на станцию технического
обслуживания Fiat.
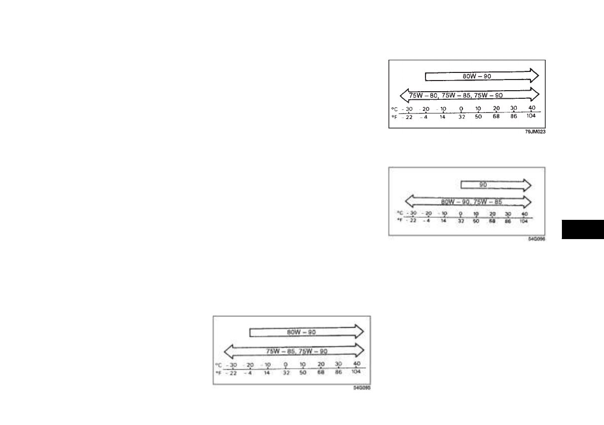
ТРАНСМИССИОННОЕ
МАСЛО
МАСЛО В МЕХАНИЧЕСКОЙ
КОРОБКЕ ПЕРЕДАЧ/ МАСЛО В
РАЗДАТОЧНОЙ КОРОБКЕ
(4WD)/МАСЛ0 В ЗАДНЕМ
ДИФФЕРЕНЦИАЛЕ (4WD)
При
доливке
масла
используйте
трансмиссионное масло рекомендованной
вязкости и класса (см. приведенную ниже
диаграмму).
TUTELA XVI SAE 75W-90, API GL-4, FIAT
9.55550-MZ4
Contractual
Technical
Reference N° F808.G08, для моделей с
бензиновым двигателем, трансмиссионное
масло для механической коробки передач.
TUTELA XVI SAE 75W-90, API GL-3, FIAT
9.55550-MZ4
Contractual
Technical
Reference N° F808.G08, для моделей с
дизельным двигателем, трансмиссионное
масло для механической коробки передач.
Гипоидное масло TUTELA W90/M — DA
SAE 80W-90 API GL -
5 для раздаточной
коробки и заднего дифференциала (4WD).
Трансмиссионное масло для
механической коробки передач,
для моделей с бензиновым
двигателем (API GL-4)
Трансмиссионное масло для
механической коробки передач,
для моделей с дизельным
двигателем (API GL-3)
Масло для раздаточной коробки и
заднего дифференциала (4WD)
(API GL-
5 Гипоидное)
Проверка уровня
трансмиссионного масла
Проверка уровня трансмиссионного масла
осуществляется следующим образом:
Установите автомобиль на ровной,
горизонтальной площадке и затяните
стояночный
тормоз.
Заглушите
двигатель.
Выверните наливную пробку
(1)
или
(2)
.
Вставьте в отверстие палец. Если
уровень масла доходит до нижнего
края отверстия, это означает, что
масла достаточно. В этом случае
установите пробку на место.
Содержание
- 3 ОРИГИНАЛЬНЫЕ И ВОССТАНОВЛЕННЫЕ ЗАПАСНЫЕ ЧАСТИ FIAT
- 4 РУКОВОДСТВО ДЛЯ СТАНЦИЙ ТЕХНИЧЕСКОГО ОБСЛУЖИВАНИЯ
- 6 ПРЕДИСЛОВИЕ; ВАЖНО; ПРЕДУПРЕЖДЕНИЕ
- 7 ПРЕДУПРЕЖДЕНИЕ О ВНЕСЕНИИ ИЗМЕНЕНИЙ
- 8 СОДЕРЖАНИЕ
- 10 ПЕРЕД НАЧАЛОМ ДВИЖЕНИЯ
- 11 БЕНЗИНОВЫЙ ДВИГАТЕЛЬ; Смеси бензина /этанола; ДИЗЕЛЬНЫЙ ДВИГАТЕЛЬ
- 12 КЛЮЧИ
- 13 ЗАМКИ ДВЕРЕЙ; ЗАМКИ БОКОВЫХ ДВЕРЕЙ
- 15 Активация блокировки:
- 19 Функция напоминания
- 21 Замена элементов питания
- 25 СТЕКЛА
- 28 ЗЕРКАЛА
- 31 Передний подголовник
- 32 Задний подголовник
- 38 ДЕТСКИЕ СИДЕНИЯ
- 41 СИСТЕМЫ ДЕТСКОЙ БЕЗОПАСНОСТИ, ПРИМЕНЯЕМЫЕ В СТРАНАХ ЕС; ПЕРЕВОЗКА ДЕТЕЙ
- 51 Шильда подушки безопасности
- 56 ОБЩИЕ ПРЕДУПРЕЖДЕНИЯ
- 58 ОРГАНЫ УПРАВЛЕНИЯ НА РУЛЕВОМ КОЛЕСЕ
- 59 ЗАМОК ЗАЖИГАНИЯ; LOCK
- 62 Система напоминания
- 65 Смена полосы движения
- 69 ЗВУКОВОЙ СИГНАЛ
- 72 ПАНЕЛЬ ПРИБОРОВ
- 74 КОМБИНАЦИЯ ПРИБОРОВ
- 75 КОНТРОЛЬНЫЕ ЛАМПЫ
- 84 СПИДОМЕТР
- 85 ТАХОМЕТР
- 86 Мгновенный расход топлива
- 89 Термометр
- 90 Одометр
- 95 ПЕРЧАТОЧНЫЙ ЯЩИК
- 97 ДЕФЛЕКТОРЫ
- 98 БОКОВОЙ ДЕФЛЕКТОР; СИСТЕМА ОБОГРЕВА
- 103 Принудительная вентиляция
- 110 Ручное управление
- 111 АУДИОСИСТЕМЫ; ЧЕЙНДЖЕРОМ
- 114 Выключатель питания
- 115 РАДИОПРИЕМНИК; Режим радиоприемника
- 119 ЧЕЙНДЖЕР; Выбор диска
- 120 Быстрая перемотка вперед/назад
- 121 проигрыватель; WMA
- 123 Текстовый дисплей
- 125 ПОИСК И УСТРАНЕНИЕ НЕИСПРАВНОСТЕЙ; Общие неисправности
- 126 СООБЩЕНИЯ ОБ ОШИБКАХ; Проигрыватель компакт-дисков
- 128 Полная навигационная система
- 130 ПРОЧИЕ ОРГАНЫ УПРАВЛЕНИЯ И ОБОРУДОВАНИЕ
- 132 ПЕДАЛИ
- 139 ЛАМПА ДЛЯ ЧТЕНИЯ
- 143 ЧАШКОДЕРЖАТЕЛЬ
- 144 КРЮКИ НА РАМЕ
- 146 КРЮЧОК; В БАГАЖНОМ ОТСЕКЕ
- 150 ЭКСПЛУАТАЦИЯ АВТОМОБИЛЯ
- 151 ОТРАБОТАВШИЕ ГАЗЫ; ЕЖЕДНЕВНЫЙ ОСМОТР
- 153 км; ПУСК ДВИГАТЕЛЯ; ПЕРЕД ПУСКОМ ДВИГАТЕЛЯ
- 154 ПУСК ТЕПЛОГО ДВИГАТЕЛЯ
- 157 СТУПЕНЧАТАЯ; Рукоятка селектора
- 162 ТОРМОЖЕНИЕ
- 163 УСИЛИТЕЛЬ ТОРМОЗОВ
- 165 ПРИНЦИП ДЕЙСТВИЯ ABS; СИСТЕМА СТАБИЛИЗАЦИИ
- 170 СОВЕТЫ ВОДИТЕЛЮ АВТОМОБИЛЯ
- 171 ДВИЖЕНИЕ В ГОРУ
- 172 ЦЕПИ ПРОТИВОСКОЛЬЖЕНИЯ
- 173 ЕСЛИ АВТОМОБИЛЬ ЗАСТРЯЛ
- 174 ЗАГРУЗКА АВТОМОБИЛЯ И БУКСИРОВКА
- 175 ЗАГРУЗКА АВТОМОБИЛЯ; БУКСИРОВКА ПРИЦЕПА
- 176 ПРЕДОХРАНИТЕЛЬНЫЕ ЦЕПИ; ТОРМОЗА
- 177 ШИНЫ
- 181 ИНСТРУКЦИИ ПО БУКСИРОВКЕ
- 184 ПРОВЕРКА И ТЕХНИЧЕСКОЕ ОБСЛУЖИВАНИЕ
- 192 ПРИВОДНОЙ РЕМЕНЬ
- 197 Замена трансмиссионного масла; СПЕЦИАЛЬНАЯ ЖИДКОСТЬ
- 198 ЗАМЕНА ЖИДКОСТИ
- 202 ВОЗДУХООЧИСТИТЕЛЬ
- 205 Дизельный двигатель)
- 206 ТОРМОЗНАЯ ЖИДКОСТЬ
- 207 ПЕДАЛЬ ТОРМОЗА
- 208 СТОЯНОЧНЫЙ ТОРМОЗ; РУЛЕВОЕ УПРАВЛЕНИЕ
- 209 ПРОВЕРКА ШИН
- 211 ПЕРЕСТАНОВКА КОЛЕС
- 213 ЗАМЕНА КОЛЕС
- 214 КОЛПАКИ КОЛЕС
- 216 ПРЕДОХРАНИТЕЛИ; Главный предохранитель
- 217 ПРЕДОХРАНИТЕЛИ В МОТОРНОМ ОТСЕКЕ; Для моделей с бензиновым двигателем
- 219 Для моделей с дизельным двигателем
- 221 ПРЕДОХРАНИТЕЛИ ПОД ПРИБОРНОЙ ПАНЕЛЬЮ
- 222 ЗАМЕНА ЛАМП
- 223 ФАРА
- 224 ДРУГИЕ ОСНОВНЫЕ ЛАМПЫ; Держатель лампы
- 225 Передняя противотуманная фара
- 226 Лампа для чтения
- 227 Дополнительный стоп-сигнал
- 229 Тип С
- 230 ЗАДНИЙ СТЕКЛООЧИСТИТЕЛЬ
- 232 ОБСЛУЖИВАНИЕ В АВАРИЙНЫХ СИТУАЦИЯХ
- 236 БУКСИРОВКА
- 240 УХОД ЗА КУЗОВОМ
- 243 ОЧИСТКА АВТОМОБИЛЯ; ОЧИСТКА САЛОНА; Виниловая обивка; МОЙКА КУЗОВА
- 244 МОЙКА
- 246 ОБЩИЕ СВЕДЕНИЯ
- 247 СЕРИЙНЫЙ НОМЕР ШАССИ; НОМЕР ДВИГАТЕЛЯ
- 250 ТЕХНИЧЕСКИЕ ХАРАКТЕРИСТИКИ
- 251 ДВИГАТЕЛЬ
- 252 ЛАМПЫ
- 257 ДЕКЛАРАЦИЯ СООТВЕТСТВИЯ
- 262 ПРЕДМЕТНЫЙ УКАЗАТЕЛЬ
- 268 РУССКИЙ