Автомобили Fiat BRAVO 2007 - инструкция пользователя по применению, эксплуатации и установке на русском языке. Мы надеемся, она поможет вам решить возникшие у вас вопросы при эксплуатации техники.
Если остались вопросы, задайте их в комментариях после инструкции.
"Загружаем инструкцию", означает, что нужно подождать пока файл загрузится и можно будет его читать онлайн. Некоторые инструкции очень большие и время их появления зависит от вашей скорости интернета.

138
ɉɊ
ɂȻ
ɈɊ
ɕ
ɂɈ
ɊȽ
Ⱥɇ
ɕ
ɍɉ
ɊȺ
ȼɅ
ȿɇ
ɂə
ɄɈ
ɇɌ
ɊɈ
Ʌɖ
ɇɕ
ȿ
ɅȺ
Ɇɉ
ɕ
ɂ
ɋɈ
ɈȻ
ɓȿ
ɇɂ
ə
ɋɂ
ɋɌ
ȿɆ
ȺȻ
ȿɁ
Ɉ
-
ɉȺ
ɋɇ
Ɉɋ
Ɍɂ
ɋɈ
ȼȿ
Ɍɕ
ȼɈ
Ⱦɂ
Ɍȿ
Ʌɘ
Ⱥȼ
ɌɈ
ɆɈ
Ȼɂ
Ʌə
ɍɋ
ɌɊȺ
ɇȿ
ɇɂ
ȿ
ɇȿ
ɂɋ
ɉɊ
Ⱥȼ
ɇɈ
ɋɌ
ȿɃ
Ɍȿ
ɏɇ
ɂɑ
ȿɋ
ɄɈ
ȿ
ɈȻ
ɋɅ
ɍɀ
ɂȼ
Ⱥɇ
ɂȿ
Ɍȿ
ɏɇ
ɂɑ
ȿɋ
Ʉɂ
ȿ
ɏȺ
ɊȺ
ɄɌ
ȿɊ
ɂɋ
Ɍɂ
Ʉɂ
ɉɊ
ȿȾ
Ɇȿ
Ɍɇ
ɕɃ
ɍɄ
ȺɁ
ȺɌ
ȿɅ
ɖ
22&-#,6%*"(1"-'*(
(52A<D5<<8@A?B0AB?2:B@A/2@20B?21
.AA52=<6;A@6;160.A21D6A5
D6A5.A<
A.9<3"/<9A@"/<9A@.;1"
/<9A@
(525<<8@5<B91/23.@A2;21A<A52/<1F
.C<616;4.;FAF=2<31?6996;4.;1A?6::6;4
<3A52?2.?/B:=2?@A5.A?2:.6;@C6@6/92
D52;A525<<86@?2:<C21
3A2?36AA6;4@0?2D5<92@@5.99/2@2.921A<
=?2C2;A2E5.B@A4.@6;92A
F0Q0249m
364
Existing hole
REAR
AXLE
Existing holes
Full
load
Ball to 94/20 EC standard
Existing holes
Existing
holes
Existing holes
ǝǭǺǼǺȃǹȇǵȃDZǼǾDZDzǼǴǽ
ǞǺȃǶǴ ǶǼDZǻǷDZǹǴȋ ǾȋǯǺǮǺǽȂDZǻǹǺǯǺ ǿǽǾ
-
ǼǺǵǽǾǮǬ ǺǭǺdzǹǬȃDZǹȇ ǽǴǸǮǺǷǺǸ
(52A<D5<<8@A?B0AB?2:B@A/2@20B?21
.AA52=<6;A@6;160.A21D6A5
A.9<3"/<9A@"/<9A@.;1"
ǰǷȋ
ǶǼDZǻǷDZǹǴȋǴǽǻǺǷȈdzǿDZǾǽȋǶǼDZǻDZDzǽǷDZǰǿȊ
-
ȅǴȁǾǴǻǺǼǬdzǸDZǼǺǮǭǺǷǾǬ0ǭǺǷǾǬ
0ǴǭǺǷǾǬ0
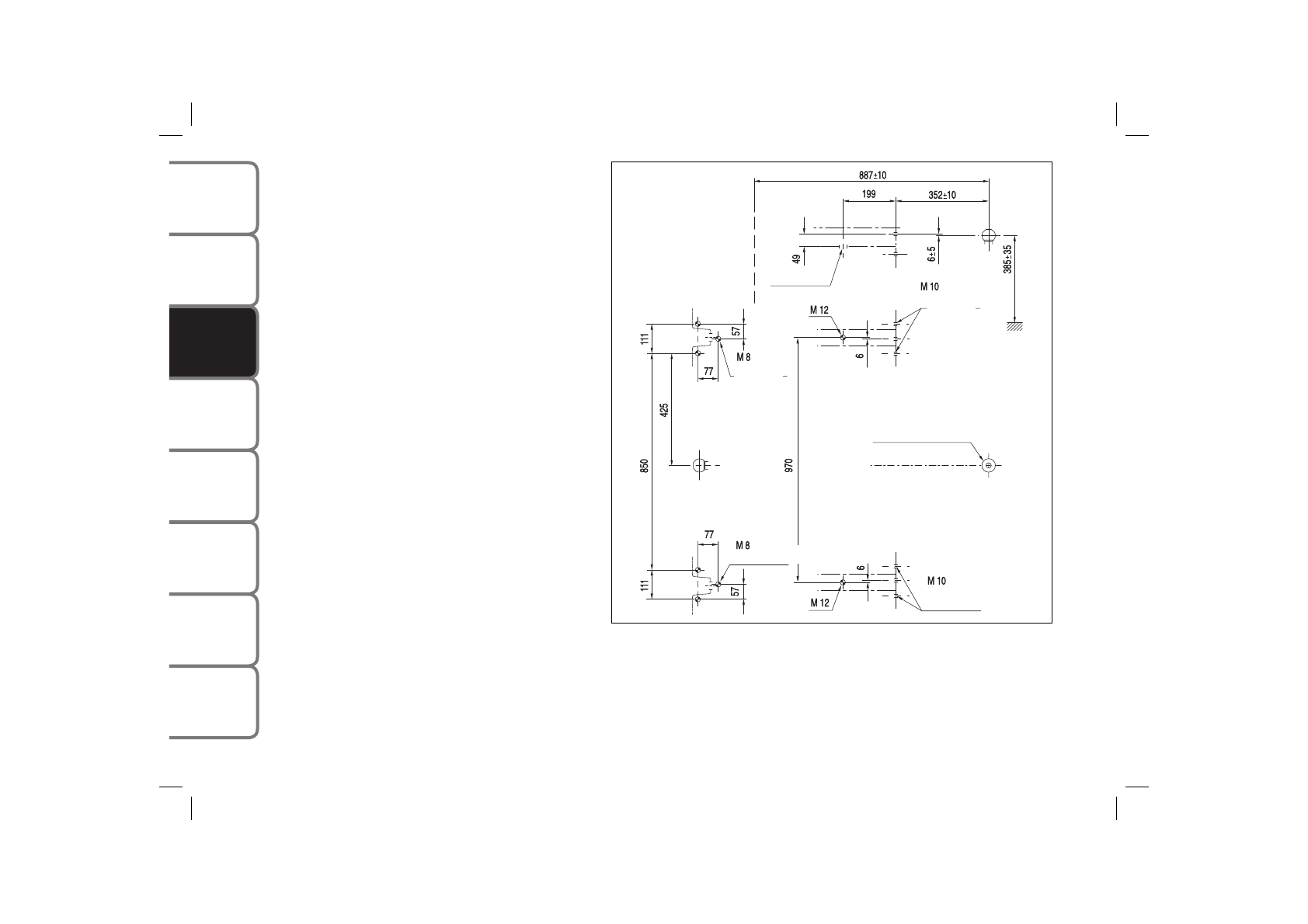
ǞȋǯǺǮǺǽȂDZǻǹǺDZ ǿǽǾǼǺǵǽǾǮǺ ǰǺǷDzǹǺ ǶǼDZ
-
ǻǴǾȈǽȋ Ƕ ǶǿdzǺǮǿ ǬǮǾǺǸǺǭǴǷȋ ǻǼǴ ȉǾǺǸ
ǽǷDZǰǿDZǾ ǴdzǭDZǯǬǾȈ ǽǮDZǼǷDZǹǴȋ Ǵ ǻǺǰǼDZdzǶǴ
dzǬǰǹDZǯǺǭǬǸǻDZǼǬǾǬǶǶǬǶȉǾǺǭǿǰDZǾǮǴǰǹǺ
ǻǺǽǷDZǽǹȋǾǴȋǾȋǯǺǮǺǽȂDZǻǹǺǯǺǿǽǾǼǺǵǽǾǮǬ
ǛǺǽǷDZ ǿǽǾǬǹǺǮǶǴ ǭǿǶǽǴǼǹǺǯǺ ǿǽǾǼǺǵǽǾǮǬ
ǽǷDZǰǿDZǾ ǿǻǷǺǾǹǴǾȈ ǼDZdzȈǭǺǮȇDZ ǺǾǮDZǼǽǾǴȋ
ǻǺǰǮǴǹǾȇȃǾǺǭȇǺǾǼǬǭǺǾǬǮȄǴDZǯǬdzȇǹDZ
ǻǼǺǹǴǶǬǷǴǮǽǬǷǺǹǬǮǾǺǸǺǭǴǷȋ
ǔǸDZȊȅDZDZǽȋ
ǺǾǮDZǼǽǾǴDZ
ǔǸDZȊȅDZDZǽȋ
ǺǾǮDZǼǽǾǴDZ
ǔǸDZȊȅǴDZǽȋ
ǺǾǮDZǼǽǾǴȋ
ǤǬǼǾȋǯǺǮǺǽȂDZǻǹǺǯǺ
ǿǽǾǼǺǵǽǾǮǺ(&
ǔǸDZȊȅǴDZǽȋ
ǺǾǮDZǼǽǾǴȋ
ǔǸDZȊȅǴDZǽȋ
ǺǾǮDZǼǽǾǴȋ
ǓnjǐǙǫǫǚǝǨ
Ǜ
Ǻ
Ƿ
ǹ
Ǭ
ȋ
dzǬǯǼ
ǿdzǶ
Ǭ
ǼǴǽ