Автомобили Citroen DS4 2011 - инструкция пользователя по применению, эксплуатации и установке на русском языке. Мы надеемся, она поможет вам решить возникшие у вас вопросы при эксплуатации техники.
Если остались вопросы, задайте их в комментариях после инструкции.
"Загружаем инструкцию", означает, что нужно подождать пока файл загрузится и можно будет его читать онлайн. Некоторые инструкции очень большие и время их появления зависит от вашей скорости интернета.

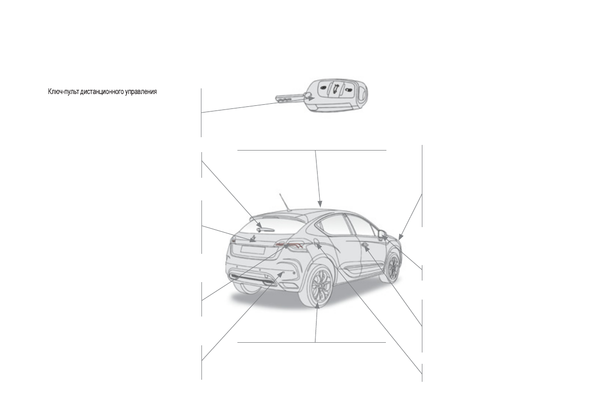
Внешнее
оборудование
автомобиля
100-106
-
открывание
/
закрывание
-
противоугонная
система
-
пуск
двигателя
-
элемент
питания
Выключатели
световых
приборов
124-128
Рег улировка
фар
130
Сопровож дающее
освещение
127, 128
Дистанционное
включение
световых
приборов
129
А даптивные
фары
131-132
Замена
ламп
258-262
-
передние
фары
-
противотуманные
фары
-
повторители
указателей
поворотов
Выключатель
стеклоочистителя
133-137
Замена
щетки
стек лоочистителя
275
Наружные
зеркала
заднего
вида
95 -96
Слежение
за
"
слепыми
зонами
" 218-220
Двери
112-113
-
открывание
/
закрывание
-
механический
замок
дверей
Безопасная
перевозка
детей
171
Стек лоподъемники
115 -116
Охранная
сигнализация
109-111
Топливный
бак
117-119
Ограничитель
горловины
топливного
бака
119-120
Дополнительное
оборудование
281-282
Багажные
дуги
276
Система
оптимизации
торможения
178-179
Контроль
траектории
движения
автомобиля
179-180
Датчик
падения
давления
в
шинах
176-177
х
Давление
воздуха
в
шинах
250,
291
Багажное
отделение
114
Комплект
для
временного
устранения
прокола
в
шине
246-250
Замена
колеса
251-257
-
инструменты
-
демонтаж
/
установка
колеса
Замена
ламп
263-265
-
задние
световые
приборы
-
третий
стоп
-
сигнал
-
фонарь
освещения
регистрационного
знака
Помощь
при
парковке
228-229
Система
определения
достаточности
места
для
парковки
226-227
Сцепное
устройство
279-280
Буксировка
277-278
