АТС Panasonic KX-T7636RU - инструкция пользователя по применению, эксплуатации и установке на русском языке. Мы надеемся, она поможет вам решить возникшие у вас вопросы при эксплуатации техники.
Если остались вопросы, задайте их в комментариях после инструкции.
"Загружаем инструкцию", означает, что нужно подождать пока файл загрузится и можно будет его читать онлайн. Некоторые инструкции очень большие и время их появления зависит от вашей скорости интернета.

14
•
Для получения дополнительной информации о XDP-подключении обратитесь к дилеру.
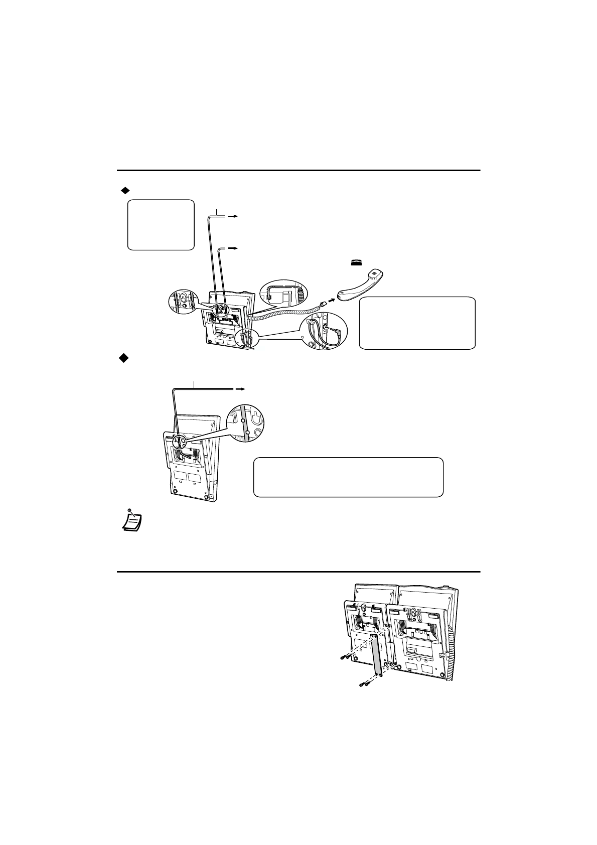
Подключите к аналоговому телефонному
аппарату (в случае XDP-подключения или
параллельного подключения) ( ).
TO TEL
Шнур телефонной линии (в комплекте поставки)
<Вид сзади>
ПРЕДОСТЕРЕЖЕНИЕ
Во избежание повреждения
разъема шнур гарнитуры
следует уложить в
предназначенные для него
выемки.
Подключите к учрежденческой
телефонной системе серииKX-TDA
( ).
TO MAIN UNIT
/PABX
ПРЕДОСТЕРЕЖЕНИЕ
Во избежание
повреждения
разъема шнура
следует уложить в
предназначенные для
них выемки.
Модели серии KX-T7600
Шнур телефонной линии (в комплекте поставки)
Подключите к учрежденческой
телефонной системе
модели KX-TDA ( ).
<Вид сзади>
TO MAIN UNIT
/PABX
KX-T7640
ПРЕДОСТЕРЕЖЕНИЕ
Во избежание повреждения разъема шнур следует
уложить в предназначенные для него выемки.
Подключение
Подключение к системному телефону
Это устройство может быть соединено с
цифровым системным телефоном Panasonic
(KX-T7630, KX-T7633, KX-T7636).
Воспользуйтесь крепежной пластиной и
винтами.