Atlanta ATH-233 - Инструкция по эксплуатации

Atlanta ATH-233

Тостер Atlanta ATH-233 - инструкция пользователя по применению, эксплуатации и установке на русском языке. Мы надеемся, она поможет вам решить возникшие у вас вопросы при эксплуатации техники.

Если остались дополнительные вопросы — свяжитесь с нами через контактную форму.

1 Страница 1
2 Страница 2
3 Страница 3
4 Страница 4
5 Страница 5
6 Страница 6
7 Страница 7
8 Страница 8
9 Страница 9
10 Страница 10
11 Страница 11
12 Страница 12
13 Страница 13
14 Страница 14
15 Страница 15
16 Страница 16
Страница: / 16

Содержание:

  • Страница 8 – ИНСТРУКЦИЯ ПО ЭКСПЛУАТАЦИИ
  • Страница 9 – Номинальная мощность:
  • Страница 10 – ЧИСТКА И УХОД
Загрузка инструкции

RUS

EN

KZ

Инструкция по эксплуатации

Instruction Manual

Пайдалану бойынша нұсқаулық

Ver.2.06.2010

ATH-233

Toaster

Тостер

Тостер

№ ATH-233 от 01.12.2021г.

"Загрузка инструкции" означает, что нужно подождать пока файл загрузится и можно будет его читать онлайн. Некоторые инструкции очень большие и время их появления зависит от вашей скорости интернета.

Краткое содержание

Страница 8 - ИНСТРУКЦИЯ ПО ЭКСПЛУАТАЦИИ

8 ИНСТРУКЦИЯ ПО ЭКСПЛУАТАЦИИ - не вскрывайте корпус изделия; - не подвергайте электрическую часть аппарата воздействию дождя или влаги; - не погружайте аппарат в воду или иную жидкость; - ХРАНИТЕ НЕИСПОЛЬЗУЕМЫЙ ПРИБОР ОТСОЕДИНЕННЫМ ОТ СЕТИ, УСТРОЙ- СТВО ПРЕДСТАВЛЯЕТ ОПАСНОСТЬ ДАЖЕ КОГДА ОНО ОТКЛЮЧЕН...

Страница 9 - Номинальная мощность:

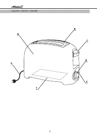
9 ИНСТРУКЦИЯ ПО ЭКСПЛУАТАЦИИ ОСНОВНЫЕ ЭЛЕМЕНТЫ ТОСТЕРАA - корпус B - направляющие для хлебаC - рычаг включения тостераD - регулятор степени поджариванияE - кнопка остановки работыF - поддон для крошекG - сетевой шнур ТЕХНИЧЕСКИЕ ХАРАКТЕРИСТИКИНапряжение: 230 В~ 50 Гц Номинальная мощность: 750 Вт Сро...

Страница 10 - ЧИСТКА И УХОД

10 ИНСТРУКЦИЯ ПО ЭКСПЛУАТАЦИИ ЧИСТКА И УХОД • Отключите тостер от источника тока и дайте ему остыть, затем почистите его влажной тряпочкой. Не используйте химически активные или абразивные мою-щие средства для чистки тостера, так как это может повредить его. • Для предотвращения возгорания хлебных к...

Характеристики

Другие модели - Тостеры Atlanta