Страница 2 - Газовый настенный конденсационный котел
Газовый настенный конденсационный котел Держите руководство рядом с конденсационным котлом Navien, на случай проведения в будущ ем работ по рем онту или обслуживанию Navien NCN-40K Navien NCN-21K Navien NCN-25K Navien NCN-32K
Страница 3 - Оглавление
установки Крепление устройства к стене © KD Navien co., Ltd. 2010 Определения безопасностиСим волы, используем ые в руководстве Важные м еры предосторожности Законодательство Информ ация по м аркировке Описание устройстваФункциональная схем а Панель управления Общ ая спецификация. Данные по гидравли...
Страница 4 - Вопросы безопасности
© KD Navien co., Ltd. 2010 Все правила безопасности относятся к потенциальным Это сим вол повыш енного вним ания. Он предупреждает вас о наличии потенциальной Соблюдайте все правила безопасности, Опасно! Обозначает ситуацию, с неизбежной опасностью Если ее не устранить, возникает риск причинения тяж...
Страница 5 - Описание устройства
или пропан. © KD Navien co., Ltd. 2010 2. 19.3 kW 23.1 kW 23.1 kW 23.1 kW 29.5 kW 34.2 kW Конденсационный газовый котел KD Navien является полностью автом атическим настенным конденсационнымкотлом с тягодутьевым устройством дым охода с уравновеш енной тягой, использующ им природный газ Это устройств...
Страница 8 - Данные по гидравлике
© KD Navien co., Ltd. 2010 0 100 200 300 400 500 600 0 200 400 600 800 1000 1200 1400 1600 1800 Данные по гидравлике Следующ ий график показывает изм енение давления насоса по отнош ению к скорости потока Доступная высота столба жидкости для систем ы в ы сот а ст ол б а (м б ар ) Скорость потока наг...
Страница 10 - условий; Режим ы работы; Ком пенсация погодных
условий © KD Navien co., Ltd. 2010 5. 1. 2. 3. K=0.5 K=1 K=1.5 K=6 K=4 K=3 K=2 20 20.0 30.0 40.0 50.0 60.0 70.0 80.0 15 10 5 0 -5 -10 -15 -20 -25 Режим ы работы Когда горелка зажжена и плам я обнаружено, устройство начинает подогревать воду до заданной тем пературы. отм етки, горелка гаснет, а насос...
Страница 11 - Режим предварительного нагрева ГВС
© KD Navien co., Ltd. 2010 1. 2. 3. 4 5 1 2 . °C) MIN MAX Когда датчик водяного потока определяет движение воды ХВС, трехходовой отдается этом у режим у. Первичная вода циркулирует через через Функция контроля нагрева контролирует заданной тем пературы. выключается и трехходовой клапан Устройство ос...
Страница 13 - Требования к установке
200м м © KD Navien co., Ltd. 2010 • • • • • • Для установки устройства требуется плоская вертикальная поверхность. Следующ ие м иним альные зазоры (м м ) должны сохраняться для установки и обслуживания. Требуем ые м иним альные зазоры 45 м м 440м м 45м м 400м м 695м м 200м м м ин. 600м м Для целейоб...
Страница 15 - Варианты слива конденсата
© KD Navien co., Ltd. 2010 1. * 2. 3. Drainageholes * 2 5 mm 4. * Варианты слива конденсата Из устройства в сток через раковину длястирки Конец трубы должен быть над уровнем воды,но ниже окружающ ей поврехности. Раковина для стирки Пластиковая трубадля конденсата диам етром 22м м 2.5 м иним альный н...
Страница 16 - Дым оотвод
© KD Navien co., Ltd. 2010 AG J F H, I A A A E BCD F F F B G M G K L L K N A 30(*1) B 7.5 C 20 D 20 E 2.5 F 30 G 30 H 60 I 120 J 120 K 150 L 30 M 50 N 200(*2) • Дым оотвод Миним альные расстояния м ежду строениям ии элем ентам и здания указаны в таблице Описание Миним . расст. (см ) От проем ов (две...
Страница 17 - Варианты дым оотвода; Общ ая длина систем ы дым оотвода
м © KD Navien co., Ltd. 2010 7. Φ 60/100 mm) A 8 5 1 Φ 60/100 mm) B A Φ 60/100 20 21 Φ 80/125 68 70 Φ 80/80 110 Φ 60/100 - > Φ 80/125 - 0.5 Φ 60/100 45° 1.0 90° 1.3 Φ 80/125 45° 1.0 90° 2.2 Φ 80/80 45° 1.4 90° 2.2 Варианты дым оотвода Общ ая длина систем ы дым оотвода Эти систем ы дым оотвода м о...
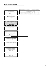
Страница 20 - Алгоритм установки
© KD Navien co., Ltd. 2010 8. Алгоритм установки Транспортировка см . п. 9. Крепление устройства к стене см . п. 10 См ена вида газа (если необходим о) Приложение Подключение газа см . п. 11 Подсоединение воды и трубы для слива конденсата см . п. 12 Подсоединение дым оотвода см . п. 13 Электрические...
Страница 21 - Транспортировка; Транспортировка устройства; Проверка ком плектации котла.
© KD Navien co., Ltd. 2010 9. 1. 2. • • • Транспортировка Транспортировка устройства Осторожно Устройство м ожет быть повреждено, если закреплено неправильно Транспортируйте устройство, используя правильные приспособления, такие какручную тележку с крепежным рем нем или специальные устройства для пе...
Страница 22 - Крепление устройства к стене; Осторожно
© KD Navien co., Ltd. 2010 10. 1. 2. 3. 4. 300 97 130 92.5 Крепление устройства к стене Закрепите устройство на стене в следующ ей последовательности: Отм етьте м еста для дым оотвода и винтов на стене. Убедитесь, что м етки выровняны по горизонтали и вертикали.Сделайте отвертсие для дым охода (м ин...
Страница 23 - Подключение газа; ВНИМАНИЕ; Материалы для газовых труб; Использование сжиженного газа; ОСТОРОЖНО
© KD Navien co., Ltd. 2010 • • • • • • - - • - - Подключение газа 11. ВНИМАНИЕ Прежде чем заверш ить прокладку газовых труб, убедитесь, что тип газа, который вы собираетесь использовать, подходит для этого устройства.Если вы собираетесь использовать газ, который неуказан в табличке, расположенной в ...
Страница 24 - Подключение трубы подачи газа; ОПАСНО
адаптеру, расположенном у внизу устройства. © KD Navien co., Ltd. 2010 Подключение трубы подачи газа Подсоедините трубу подачи газа к газовом у входном у 2. 1. Проверить утечки газа. ОПАСНО После заверш ения подключения, газовые трубы должны быть проверены на протечки и продуты в соответствии со ста...
Страница 25 - Подсоединение воды и трубы для слива конденсата; Подсоединение водопроводных труб и
контур отопления (радиатор) отопления и адаптеру возврата отопления, которые © KD Navien co., Ltd. 2010 • • • • • 1. 2. 3. 12. Подсоединение воды и трубы для слива конденсата ВНИМАНИЕ Подсоединение водопроводных труб и трубы для слива конденсата. Затяните адаптер для трубы на котле такиминструм енто...
Страница 27 - П о дс о е ди н е н и е ды м о о т во да
© KD Navien co., Ltd. 2010 1. 2. • 1. 2. • 1. 2. 3. • • Адаптеры или м етоды подсоединения различаются,в зависим ости от вида систем ы дым оотвода (коаксиальной или раздельной). Строго следуйте инструкциям , приведенным ниже. Каждый набор коаксиальной систем ы дым оотвода включает адаптер, как показ...
Страница 28 - Электрические подключения и установки.; До с т у п в б л о к у п р а вл е н и я
© KD Navien co., Ltd. 2010 1. 2. 3. 4. 5. 6. 1 ~ 4 5 ~ 6 14. Электрические подключения и установки. Выверните два винта снизу устройства. Освободите все защ елки и потяните вверхзастежки (всего 4, наверху и внизу устройства). Расстегните застежки сверху и снизу. Сним ите переднюю панель с закрепленн...
Страница 29 - До с т у п к э л е к т р и ч е с к и м с о е ди н е н и ям
До с т у п к э л е к т р и ч е с к и м с о е ди н е н и ям который находится внизу устройства. © KD Navien co., Ltd. 2010 1. 2. 3. 4. • • • • B C 3 2 4 1 A ОПАСНО Обесточьте устройство перед началом работы и изучите м еры предосторожности. Риск короткого зам ыкания: при соединении проводов убедитесь...
Страница 30 - Зам ена предохранителя; П о дк л ю ч е н и е к э л е к т р о п и т а н и ю
Уберите пластиковую коробку, в которой электриком , если надо пом енять силовой Устройство должно быть подключено к © KD Navien co., Ltd. 2010 • • • • • 1. 2. 3. 4. L N E 1,2 : 3,4 : 5,6 : 12 : EXT. 3-WAY [ CH ] 13 : EXT. 3-WAY [ DHW ] 14 : EXT. 3-WAY [ COM ] 9 : 10 : 11 : 9 10 11 12 13 14 1 2 3 4 5...
Страница 31 - Подсоединение ком натного; П о дк л ю ч е н и е к о м н а т о г о т е р м о с т а т а и у л и ч н о г о да т ч и к а
Уличный датчик тем пературы Вкл. Выкл. подключения уличного тем пературного © KD Navien co., Ltd. 2010 3 ,4 : 9 : 10 : 11 : 12 : EXT. 3-WAY [ CH ] 13 : EXT. 3-WAY [ DHW ] 14 : EXT. 3-WAY [ COM ] 9 10 11 12 13 14 1 2 3 4 5 6 1,2 : 5,6 : 1 - - 2 3 4 - 5 - - 6 - - 7 - Navien NCN- Navien NCN- Navien NCN...
Страница 32 - П о дк л ю ч е н и е э л е к т р и ч е с к о г о к а б е л я у с т р о й с т ва .
© KD Navien co., Ltd. 2010 1. 2. • • 15. Окончательная проверка и пуск в эксплуатацию ОПАСНО Включение/выключение питания Верните крыш ку блока управления на м есто, вверните и затяните винты. Подключите электрический кабель от устройства к внеш нем у источнику питания. Перед включением в сеть убеди...
Страница 33 - П р о ве р к а да вл е н и я г а з а
Поставьте на м есто переднюю крыш ку и включите через силиконовый ш ланг. © KD Navien co., Ltd. 2010 1. 2. 3. 4. 5. 1. 2. 3. 4. 5. 6. 1. 2. 3. 4. 5. Если давление газа находится в рам ках разреш енного диапазона Если давление газа не находится в рам ках разреш енного диапазона ОПАСНО Соблюдайте след...
Страница 34 - П р о ве р к а и р е г у л и р о вк а з н а ч е н и я С О 2
© KD Navien co., Ltd. 2010 1. 2. 3. 4. - - . 5. 6. 6-1. 6-2. 6-3. 7. 8. 9. 10. Как написано на информ ационной пластине, это устройство по ум олчанию настроено на природный газ. Кром е того, оно м ожет использоваться без регулировки СО2. Согласно ИНДЕКСУ ВЕББЕРА значение СО2 колеблется м ежду 8,9% и...
Страница 36 - Н а п о л н е н и е с и с т е м ы и о п р е с о вк а
если выключено питание, вы м ожете легко проверить, © KD Navien co., Ltd. 2010 • • Заполнение систем ы Проверка давления систем ы Это устройство оборудовано цифровым дисплеемс информ ацией о давлении. На этом дисплее, даже находится ли давление в требуем ом диапазоне. Когда устройство включено, вы м...
Страница 37 - П р о ве р к а р а б о т ы
© KD Navien co., Ltd. 2010 1. 2. 1. 2. 1. 2. 3. 1. 2. 3. 1. 2. 1. 2. 3. 4. 5. Проверьте следующ ие позиции на контрольной панели. Для изучения подробных описаний работы см . «Инструкциипо эксплуатации». Вопросы для проверки Методы подтверждения Дисплей Проверьте, норм ально ли работает устройство, п...
Страница 38 - П а р а м е т р ы п о дл е ж а щи е п р о ве р к е
© KD Navien co., Ltd. 2010 • • • • • • • • Действие Изм еренное значение Зам етки Проверка заполнения водой и протечек в систем е отопления. Проверка настроек газа Тип газа Пом еняна ли пластинка с информ ацией, если устройство перестроено на другой газ Давление газа Проверка газового оборудования н...
Страница 39 - П е р е да ч а р у к о во дс т ва
© KD Navien co., Ltd. 2010 • • • • • • • • • • • • • • - - - - - - • • • 16. Инструктаж для пользователя 17. Список кодов ош ибок Передайте пользователю инструкции и проверочный лист и объясните следующ ее: Объяснение информ ации на пластине Меры противодействия утечкам газа Риск взрыва или пожара и...
Страница 40 - Список кодов ош ибок
E15 С 1. . 2. . 3. , 4. . E16 , , 1. 30 , . 2. 3. ; . 4. , 5. . E17 DIP- 1. DIP . 2. . E18 ( ) 1. . 2. , . 3 . . E19 ( ) 1. . 2. , . 3 . . E21 1. . 2. , . 3 . . E22 1. . 2. , . 3 . . E27 С 1. , . 2. . 3. . E30 - 1. 30 , . 2. , . 3. . 4. . E40 ( ) 1. . 2. . 3 . . E93 В . / ВЫ . 1. 2. . 3 . . Список к...
Страница 41 - CAUTION; Приложение
3 9 газ-воздух. © KD Navien co., Ltd. 2010 1. 2. 3. 4. 5. 6. 7. 8. 9. 10. 11. CAUTION 12. 13. 14. 15. 16. • • • • Приложение ОПАСНО ОСТОРОЖНО Проверка уровня СО2 Регулировка давления в форсунке При переходе на сжжиженный газ необходим о заказать «набор перенастройки», который сделает этот процесс бы...