DEXP R550 - Инструкция по эксплуатации - Страница 6

Акустика DEXP R550 - инструкция пользователя по применению, эксплуатации и установке на русском языке. Мы надеемся, она поможет вам решить возникшие у вас вопросы при эксплуатации техники.

Если остались вопросы, задайте их в комментариях после инструкции.

"Загружаем инструкцию", означает, что нужно подождать пока файл загрузится и можно будет его читать онлайн. Некоторые инструкции очень большие и время их появления зависит от вашей скорости интернета.
Страница:
/ 10
Загружаем инструкцию
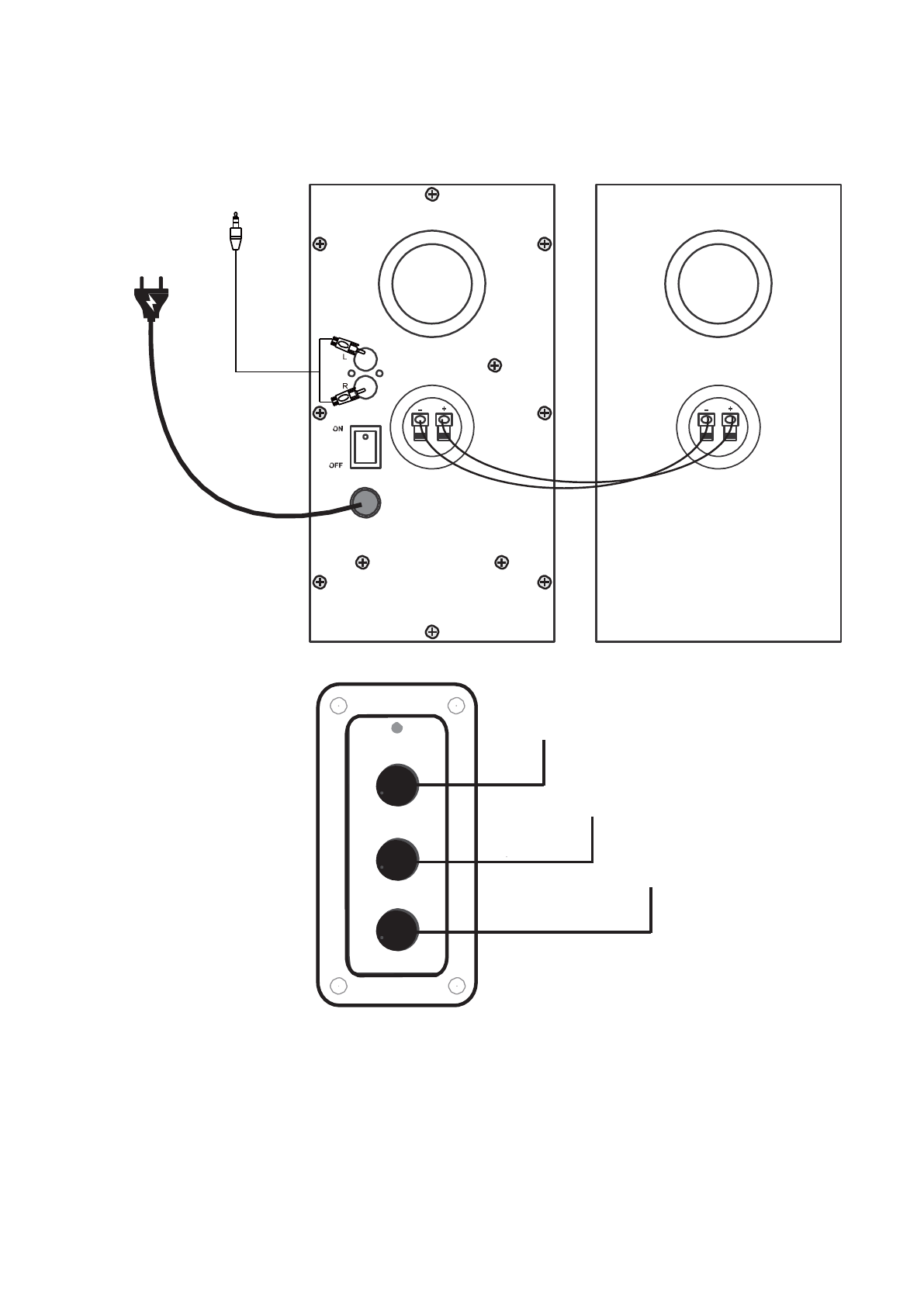
background image

Схема устройства и его подключения

 

CD/Mp

3/ПК/

 

прочие

 

устройства

 

220

 В 

/

 

50

 Гц

 

Вход

 

  

Выход

 

1.

Перед

 

подключением к

 

источнику

 

звука,

 

убедитесь,

 

что

устройство отключено

 

от сети.

2.

Соедините колонки

 

между

 

собой

 

с помощью

 

встроенного

акустического

 

кабеля.

Громкость

 

VOL

 

ВЧ

 

TONE

 

Бас

 

BASS

 

Полезные видео

Характеристики

Оцените статью
tehnopanorama.ru
Остались вопросы?

Не нашли свой ответ в руководстве или возникли другие проблемы? Задайте свой вопрос в форме ниже с подробным описанием вашей ситуации, чтобы другие люди и специалисты смогли дать на него ответ. Если вы знаете как решить проблему другого человека, пожалуйста, подскажите ему :)

Задать вопрос

Часто задаваемые вопросы
Как посмотреть инструкцию к DEXP R550?
Необходимо подождать полной загрузки инструкции в сером окне на данной странице
Руководство на русском языке?
Все наши руководства представлены на русском языке или схематично, поэтому вы без труда сможете разобраться с вашей моделью
Как скопировать текст из PDF?
Чтобы скопировать текст со страницы инструкции воспользуйтесь вкладкой "HTML"