Акустика DEXP P420 - инструкция пользователя по применению, эксплуатации и установке на русском языке. Мы надеемся, она поможет вам решить возникшие у вас вопросы при эксплуатации техники.
Если остались вопросы, задайте их в комментариях после инструкции.
"Загружаем инструкцию", означает, что нужно подождать пока файл загрузится и можно будет его читать онлайн. Некоторые инструкции очень большие и время их появления зависит от вашей скорости интернета.

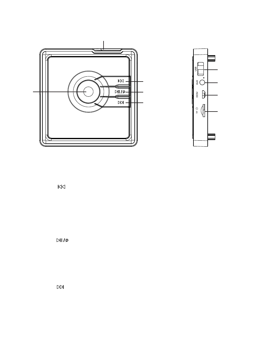
Схема устройства
1. Регулятор громкости.
• Для увеличения громкости поверните регулятор по часовой стрелке.
• Для уменьшения громкости поверните регулятор против часовой стрелки.
2. Кнопка «
».
• Режим SD/USB: нажмите для перехода к предыдущему треку; удерживай
-
те для перемотки назад.
• Режим Bluetooth: нажмите для перехода к предыдущему треку; удержи
-
вайте для уменьшения громкости.
• Режим FM: нажмите для перехода к предыдущей сохраненной радиостан
-
ции; удерживайте для уменьшения частоты.
• Режим AUX: нажмите или удерживайте для уменьшения громкости.
3. Кнопка «
».
• Режим SD/USB: нажмите для воспроизведения/паузы; удерживайте для
повтора композиции/плейлиста.
• Режим Bluetooth: нажмите для воспроизведения/паузы.
• Режим FM: нажмите для отключения звука/воспроизведения; удерживай
-
те для автоматического поиска радиостанций.
• Режим AUX: нажмите для отключения звука/воспроизведения.
4. Кнопка « ».
• Режим SD/USB: нажмите для перехода к следующему треку; удерживайте
для перемотки вперед.
• Режим Bluetooth: нажмите для перехода к следующему треку; удерживай
-
те для увеличения громкости.
• Режим FM: нажмите для перехода к следующей сохраненной радиостан
-
ции; удерживайте для увеличения частоты.
• Режим AUX: нажмите или удерживайте для увеличения громкости.
5
1
2
3
4
6
7
8
9